Breadcrumbs

Roboterspezifikationen

Bedienraum des Roboters

M0609

image2021-11-16_15-7-29.png
image2021-11-16_15-8-1.png

M0617

image2021-11-15_10-48-45.png
image2021-11-15_10-50-2.png

M1013

image2021-11-16_14-7-37.png
image2021-11-15_10-44-48.png

M1509

image2021-11-15_10-51-23.png
image2021-11-15_10-52-18.png

H2017

external_H2017 working space.PNG
image2021-11-15_10-54-19.png

H2515

external_H2515 working space.PNG
image2021-11-15_16-21-14.png


Max. Nutzlast innerhalb des Betriebsraums

Die maximale Nutzlast des Roboters innerhalb seines Betriebsraums ändert sich je nach Abstand vom Schwerpunkt. Die Nutzlast pro Strecke beträgt wie folgt:

Hinweis

In diesem Lastdiagramm wird von einem geringen Werkzeuglastvolumen ausgegangen. Werkzeuge mit einem größeren Volumen haben im Vergleich zu Werkzeugen mit gleichem Gewicht, aber kleinerem Volumen größere Einschränkungen bei der Nutzlast über dem Schwerpunkt des Werkzeugs, und in solchen Fällen können Vibrationen auftreten.


M0609

image2021-11-15_11-21-40.png

M0609

image2021-11-15_11-21-18.png

M1013

image2021-11-15_11-20-45.png

M1509

image2021-11-15_11-20-16.png

H2017

image2021-11-15_11-19-49.png

H2515

image2021-11-15_11-19-23.png


Zulässiges Moment und Trägheit

Das zulässige Moment und die Trägheit des Roboters J4-J6 sind wie folgt:

Modellname

J4

J5

J6

Zulässiger Moment

Trägheit

Zulässiger Moment

Trägheit

Zulässiger Moment

Trägheit

M0609

36 Nm

1,6 kg㎡

36 Nm

1,6 kg㎡

36 Nm

1,6 kg㎡

M0617

M1013

M1509

H2017

145 Nm

8,0 kg㎡

81 Nm

4,5 kg㎡

36 Nm

2,0 kg㎡

H2515

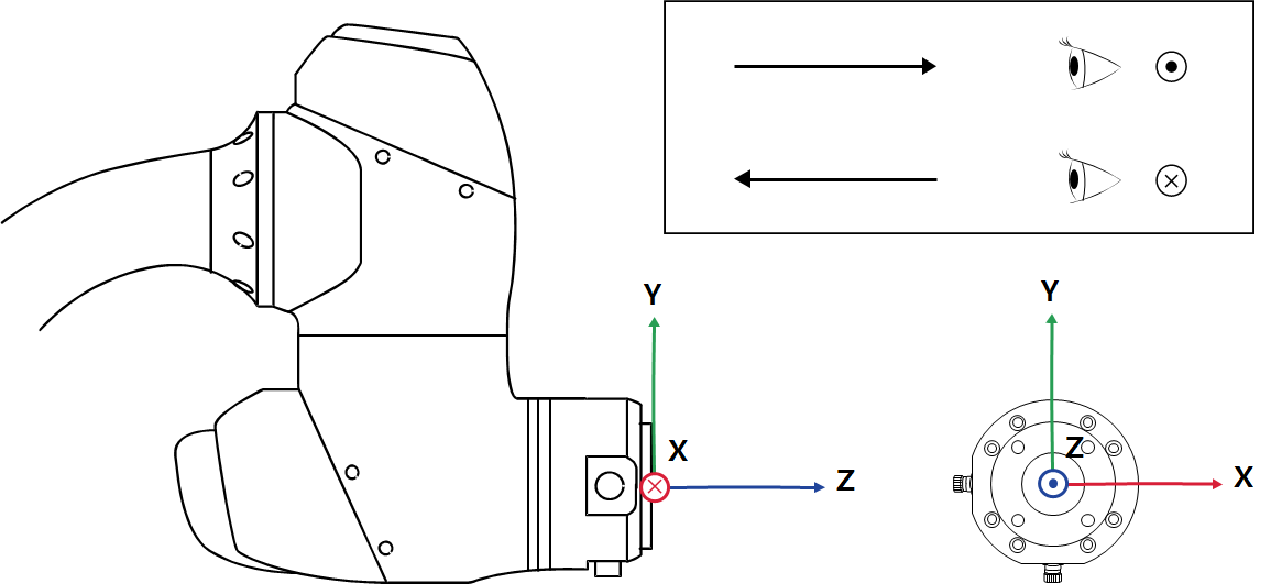
Werkzeugmittelpunkt (TCP)

Siehe Abbildung unten für TCP.

image2021-11-16_14-30-50.png


Grundlegende Spezifikationen

Modellname

M0609

M0617

M1013

M1509

H2017

H2515

Gewicht

27 kg

34 kg

33 kg

32 kg

79 kg

77 kg

Nutzlast innerhalb des Arbeitsradius

6 kg

6 kg

10 kg

15 kg

20 kg

25 kg

Max. Arbeitsradius

900 mm

1700 mm

1300 mm

900 mm

1700 mm

1500 mm

Anzahl der Achsen

6

Max. TCP-Geschwindigkeit

Über 1 m/s

Wiederholbarkeit der Position (ISO 9283)

±0,03 mm

±0,1 mm

±0,05 mm

±0,03 mm

±0,1 mm

Schutzart

IP 54

Lärm

< 65 dB

Einbaurichtung

Beliebige Ausrichtung

Nur Boden

Controller und Programmierhandgerät

Doosan Controller Und Programmierhandgerät

Vibration und Beschleunigung

10≤f<57㎐ - 0,075 mm Amplitude

57≤f≤150㎐ – 1G

Auswirkung

Max. Amplitude: 50㎨(5G)

  • * Zeit:30㎳ , Impuls : 3 VON 3 (X,Y,Z)

Betriebstemperatur

0 ℃ (273 K bis 318 K)

Lagertemperatur

-5 ℃ (268 K bis 323 K)

Luftfeuchtigkeit

20% ~ 80%


Achsenspezifikationen

Modellname

M0609

M0617

M1013

M1509

H2017

H2515

Betriebswinkel

J1

±360㎐)

±360㎐)

±360㎨)

±360㎳)

±360℃)

±360℃)

J2

±360℃)

±360℃)

±360°)

±360°)

±125°)

±125°)

J3

±150°)

±165°)

±160°)

±150°)

±160°)

±160°)

J4

±360°)

±360°)

±360°)

±360°)

±360°)

±360°)

J5

±360°)

±360°)

±360°)

±360°)

±360°)

±360°)

J6

±360°)

±360°)

±360°)

±360°)

±360°)

±360°)

Max. Drehzahl pro Achse (Nutzlastbetrieb)

J1

150 °/s

100 °/s

120 °/s

150 °/s

100 °/s

100 °/s

J2

150 °/s

100 °/s

120 °/s

150 °/s

80 °/s

80 °/s

J3

180 °/s

150 °/s

180 °/s

180 °/s

100 °/s

100 °/s

J4

225 °/s

225 °/s

225 °/s

225 °/s

180 °/s

180 °/s

J5

225 °/s

225 °/s

225 °/s

225 °/s

180 °/s

180 °/s

J6

225 °/s

225 °/s

225 °/s

225 °/s

180 °/s

180 °/s