Breadcrumbs

Dane techniczne robota

Przestrzeń operacyjna robota

M0609

image2021-11-16_15-7-29.png
image2021-11-16_15-8-1.png

M0617

image2021-11-15_10-48-45.png
image2021-11-15_10-50-2.png

M1013

image2021-11-16_14-7-37.png
image2021-11-15_10-44-48.png

M1509

image2021-11-15_10-51-23.png
image2021-11-15_10-52-18.png

H2017

external_H2017 working space.PNG
image2021-11-15_10-54-19.png

H2515

external_H2515 working space.PNG
image2021-11-15_16-21-14.png


Maks. Ładowność w przestrzeni operacyjnej

Maksymalna ładowność robota w jego przestrzeni roboczej zmienia się w zależności od odległości od środka ciężkości. Ładowność na odległość jest następująca:

Uwaga

Ten schemat obciążenia przyjmuje niewielką objętość obciążenia narzędzia. Narzędzia o większej objętości będą miały większe ograniczenia w ładowności powyżej środka ciężkości narzędzia w porównaniu z narzędziem o równej masie, ale mniejszej objętości, a w takich przypadkach mogą wystąpić wibracje.


M0609

image2021-11-15_11-21-40.png

M0609

image2021-11-15_11-21-18.png

M1013

image2021-11-15_11-20-45.png

M1509

image2021-11-15_11-20-16.png

H2017

image2021-11-15_11-19-49.png

H2515

image2021-11-15_11-19-23.png


Dozwolony moment i bezwładność

Dopuszczalny moment i bezwładność robota J4-J6 są następujące:

Nazwa modelu

J4

J5

J6

Dozwolony moment

Bezwładność

Dozwolony moment

Bezwładność

Dozwolony moment

Bezwładność

M0609

36 Nm

1.6 kg.㎡

36 Nm

1.6 kg.㎡

36 Nm

1.6 kg.㎡

M0617

M1013

M1509

H2017

145 Nm

8.0 kg.㎡

81 Nm

4.5 kg.㎡

36 Nm

2.0 kg.㎡

H2515

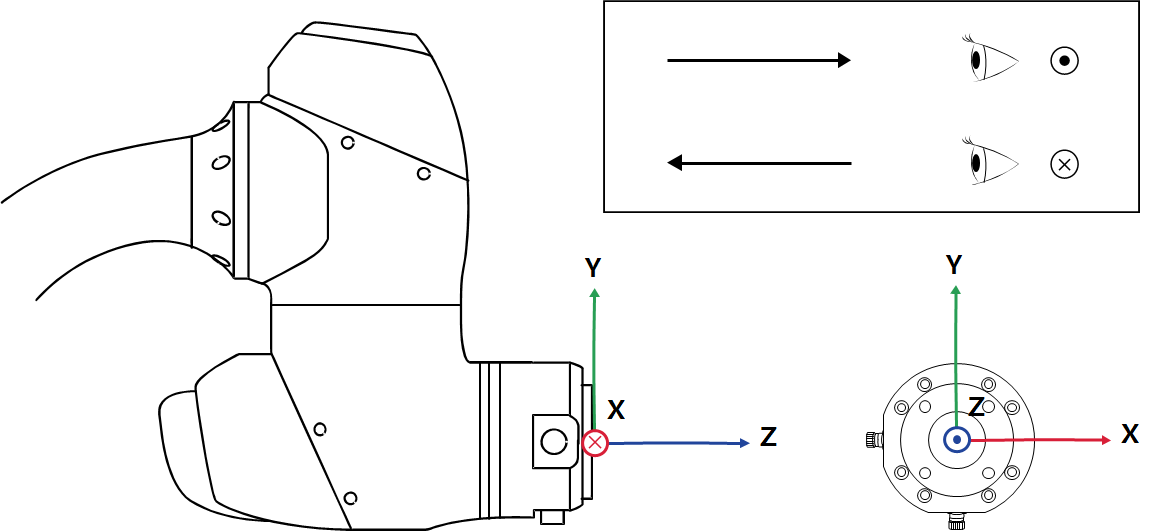
Punkt środkowy narzędzia (TCP)

Patrz rysunek poniżej, aby zapoznać się z protokołem TCP.

image2021-11-16_14-30-50.png


Podstawowe dane techniczne

Nazwa modelu

M0609

M0617

M1013

M1509

H2017

H2515

Waga

27 kg.

34 kg.

33 kg.

32 kg.

79 kg.

77 kg.

Ładunek w promieniu roboczym

6 kg.

6 kg.

10 kg.

15 kg.

20 kg.

25 kg.

Maks. Promień roboczy

900 mm

1700 mm

1300 mm

900 mm

1700 mm

1500 mm

Liczba osi

6

Maks. Szybkość TCP

Powyżej jednego m/s.

Powtarzalność pozycji (ISO 9283)

±0.03 mm

±0.1 mm

±0.05 mm

±0.03 mm

±0.1 mm

Stopień ochrony

IP 54

Hałas

< 65 dB

Kierunek instalacji

Dowolna orientacja

Tylko podłoga

Kontroler i nauczania wisiorek

Kontroler Doosan i sterownik nauczania

Wibracje i przyspieszenie

10≤f㎐ - 0,075 mm amplituda

57≤f≤150㎐ – 1G.

Uderzenie

Maks. Amplituda: 50㎨(5G)

  • * Czas㎳ : 30, puls: 3 Z 3 (X,Y,Z)

Temperatura pracy

℃ 45 ℃ (273K do 318K)

Temperatura przechowywania

-5 ℃ ~ 50 ℃ (268K do 323K)

Wilgotność

20% ~ 80%


Dane techniczne osi

Nazwa modelu

M0609

M0617

M1013

M1509

H2017

H2515

Kąt pracy

J1

±360° (TP:±360°)

±360° (TP:±360°)

±360° (TP:±360°)

±360° (TP:±360°)

±360° (TP:±360°)

±360° (TP:±360°)

J2

±360° (TP:±95°)

±360° (TP:±95°)

±360° (TP:±95°)

±360° (TP:±95°)

±125° (TP:±95°)

±125° (TP:±95°)

J3

±150° (TP:±125°)

±165° (TP:±145°)

±160° (TP:±135°)

±150° (TP:±125°)

±160° (TP:±135°)

±160° (TP:±135°)

J4

±360° (TP:±360°)

±360° (TP:±360°)

±360° (TP:±360°)

±360° (TP:±360°)

±360° (TP:±360°)

±360° (TP:±360°)

J5

±360° (TP:±135°)

±360° (TP:±135°)

±360° (TP:±135°)

±360° (TP:±135°)

±360° (TP:±135°)

±360° (TP:±135°)

J6

±360° (TP:±360°)

±360° (TP:±360°)

±360° (TP:±360°)

±360° (TP:±360°)

±360° (TP:±360°)

±360° (TP:±360°)

Maks. Prędkość na oś (znamionowa ładowność)

J1

150 °/s.

100 °/s.

120 °/s.

150 °/s.

100 °/s.

100 °/s.

J2

150 °/s.

100 °/s.

120 °/s.

150 °/s.

80 °/s.

80 °/s.

J3

180 °/s.

150 °/s.

180 °/s.

180 °/s.

100 °/s.

100 °/s.

J4

225 °/s.

225 °/s.

225 °/s.

225 °/s.

180 °/s.

180 °/s.

J5

225 °/s.

225 °/s.

225 °/s.

225 °/s.

180 °/s.

180 °/s.

J6

225 °/s.

225 °/s.

225 °/s.

225 °/s.

180 °/s.

180 °/s.