Breadcrumbs

ロボットの仕様

ロボット操作スペース

M0609

image2021-11-16_15-7-29.png
image2021-11-16_15-8-1.png

M0617

image2021-11-15_10-48-45.png
image2021-11-15_10-50-2.png

M1013

image2021-11-16_14-7-37.png
image2021-11-15_10-44-48.png

M1509

image2021-11-15_10-51-23.png
image2021-11-15_10-52-18.png

H2017

external_H2017 working space.PNG
image2021-11-15_10-54-19.png

H2515

external_H2515 working space.PNG
image2021-11-15_16-21-14.png


最大 運用スペース内のペイロード

ロボットの動作空間内の最大ペイロードは、重心からの距離によって変化する。距離あたりのペイロードは次のとおりである。

注釈

この荷重図では、工具の荷重量が小さいことを想定している。体積が大きい工具は、重量が同じで体積が小さい工具と比較して、重心より上のペイロードの制限が大きくなり、振動が発生する可能性がある。


M0609

image2021-11-15_11-21-40.png

M0609

image2021-11-15_11-21-18.png

M1013

image2021-11-15_11-20-45.png

M1509

image2021-11-15_11-20-16.png

H2017

image2021-11-15_11-19-49.png

H2515

image2021-11-15_11-19-23.png


許容されるモーメントと慣性

ロボットのJ4-J6に許容されるモーメントと慣性は次のとおりである。

モデル名

J4

J5

J6

許可された瞬間

慣性

許可された瞬間

慣性

許可された瞬間

慣性

M0609

36 Nm

1.6kg㎡

36 Nm

1.6kg㎡

36 Nm

1.6kg㎡

M0617

M1013

M1509

H2017

145 Nm

8.0kg㎡

81 Nm

4.5kg㎡

36 Nm

2.0kg㎡

H2515

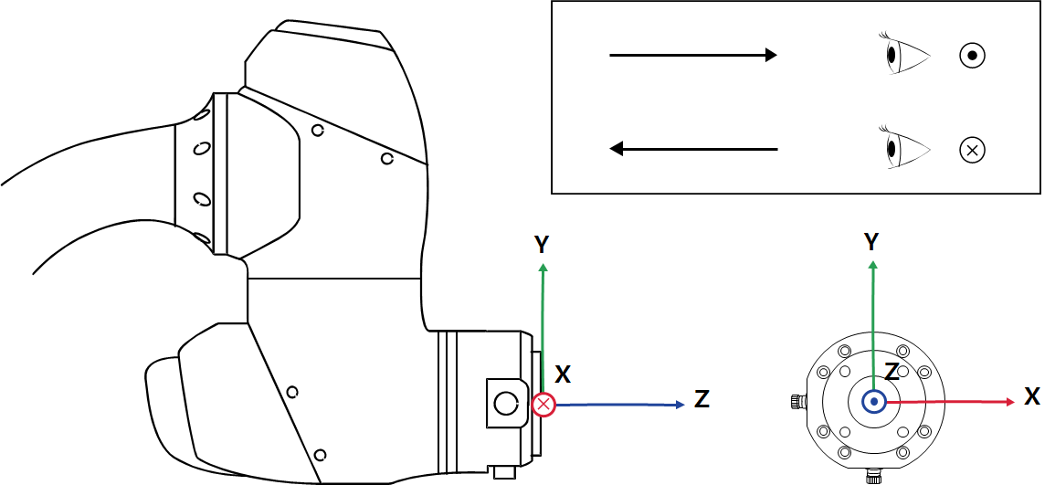
ツール中心点(TCP)

TCPについては下図を参照のこと。

image2021-11-16_14-30-50.png


基本仕様

モデル名

M0609

M0617

M1013

M1509

H2017

H2515

重量

27kg

34kg

33kg

32kg

79 kg

77kg

作業半径内のペイロード

6kg

6kg

10kg

15kg

20kg

25kg

最大 ワーク半径

900 mm

1700 mm

1300 mm

900 mm

1700 mm

1500 mm

軸の数

6

最大 TCP速度

1 m/s以上

位置の再現性(ISO 9283)

±0.03 mm

±0.1 mm

±0.05 mm

±0.03 mm

±0.1 mm

保護等級

IP 54

ノイズ

65 dB未満

インストールの方向

任意の方向

フロアのみ

コントローラーとティーチングペンダント

斗山コントローラとティーチペンダント

振動と加速度

10≤f <㎐ 57-0.075mm振幅

57≤f≤150㎐ –1G

インパクト

最大振幅:50㎨(5G)

  • *時間:30㎳ 、パルス:3/3(X、Y、Z)

動作温度

0 ℃ (273K ~ 318K)

保管温度

-5~50 ℃ (268K~323K)

湿度

20%~ 80%


軸の仕様

モデル名

M0609

M0617

M1013

M1509

H2017

H2515

動作角度

J1

±360㎐)

±360㎐)

±360㎨)

±360㎳)

±360℃)

±360℃)

J2

±360℃)

±360℃)

±360°)

±360°)

±125°)

±125°)

J3

±150°)

±165°)

±160°)

±150°)

±160°)

±160°)

J4

±360°)

±360°)

±360°)

±360°)

±360°)

±360°)

J5

±360°)

±360°)

±360°)

±360°)

±360°)

±360°)

J6

±360°)

±360°)

±360°)

±360°)

±360°)

±360°)

最大 軸あたりの速度(定格ペイロード動作)

J1

150 °回/秒

100 °/秒

120/s °/s

150 °回/秒

100 °/秒

100 °/秒

J2

150 °回/秒

100 °/秒

120/s °/s

150 °回/秒

80 °回/秒

80 °回/秒

J3

180 °回/秒

150 °回/秒

180 °回/秒

180 °回/秒

100 °/秒

100 °/秒

J4

225 °/秒

225 °/秒

225 °/秒

225 °/秒

180 °回/秒

180 °回/秒

J5

225 °/秒

225 °/秒

225 °/秒

225 °/秒

180 °回/秒

180 °回/秒

J6

225 °/秒

225 °/秒

225 °/秒

225 °/秒

180 °回/秒

180 °回/秒