Breadcrumbs

Specifiche del robot

Spazio operativo del robot

M0609

image2021-11-16_15-7-29.png
image2021-11-16_15-8-1.png

M0617

image2021-11-15_10-48-45.png
image2021-11-15_10-50-2.png

M1013

image2021-11-16_14-7-37.png
image2021-11-15_10-44-48.png

M1509

image2021-11-15_10-51-23.png
image2021-11-15_10-52-18.png

N. H2017

external_H2017 working space.PNG
image2021-11-15_10-54-19.png

H2515

external_H2515 working space.PNG
image2021-11-15_16-21-14.png


Max. Carico utile all'interno dello spazio operativo

Il carico utile massimo del robot all'interno del suo spazio operativo varia in base alla distanza dal baricentro. Il carico utile per distanza è il seguente:

Nota

Questo schema di carico presuppone un volume di carico ridotto dell'utensile. Gli utensili con un volume maggiore avranno maggiori limitazioni nel carico utile al di sopra del baricentro dell'utensile rispetto a un utensile con un peso uguale ma un volume inferiore, e in questi casi possono verificarsi vibrazioni.


M0609

image2021-11-15_11-21-40.png

M0609

image2021-11-15_11-21-18.png

M1013

image2021-11-15_11-20-45.png

M1509

image2021-11-15_11-20-16.png

N. H2017

image2021-11-15_11-19-49.png

H2515

image2021-11-15_11-19-23.png


Momento consentito e inerzia

Il momento e l'inerzia consentiti del J4-J6 del robot sono i seguenti:

Nome modello

J4

J5

J6

Momento consentito

Inerzia

Momento consentito

Inerzia

Momento consentito

Inerzia

M0609

36 Nm

1,6 kg㎡

36 Nm

1,6 kg㎡

36 Nm

1,6 kg㎡

M0617

M1013

M1509

N. H2017

145 Nm

8,0 kg㎡

81 Nm

4,5 kg㎡

36 Nm

2,0 kg㎡

H2515

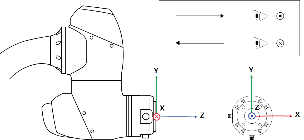
TCP (Tool Center Point)

Fare riferimento alla figura riportata di seguito per il TCP.

image2021-11-16_14-30-50.png


Specifiche di base

Nome modello

M0609

M0617

M1013

M1509

N. H2017

H2515

Peso

27 kg

34 kg

33 kg

32 kg

79 kg

77 kg

Carico utile entro raggio di lavoro

6 kg

6 kg

10 kg

15 kg

20 kg

25 kg

Max. Raggio di lavoro

900 mm

1700 mm

1300 mm

900 mm

1700 mm

1500 mm

Numero di assi

6

Max. Velocità TCP

Oltre 1 m/s.

Ripetibilità posizione (ISO 9283)

±0,03 mm

±0,1 mm

±0,05 mm

±0,03 mm

±0,1 mm

Grado di protezione

IP 54

Rumore

< 65 dB

Direzione di installazione

Qualsiasi orientamento

Solo piano

Controller e comando didattico a filo

Controller Doosan e teach pendant

Vibrazione e accelerazione

10≤f㎐ - 0,075 mm di ampiezza

57≤f≤150㎐ – 1G

Impatto

Ampiezza massima: 50㎨(5G)

  • * Tempo :30㎳ , impulso : 3 DI 3 (X,Y,Z)

Temperatura di esercizio

0 ℃ ~45 ℃ (da 273 K a 318 K)

Temperatura di conservazione

-5 ℃ ~50 ℃ (da 268 K a 323 K)

Umidità

20% ~ 80%


Specifiche dell'asse

Nome modello

M0609

M0617

M1013

M1509

N. H2017

H2515

Angolo di funzionamento

J1

±360° (TP:±360°)

±360° (TP:±360°)

±360° (TP:±360°)

±360° (TP:±360°)

±360° (TP:±360°)

±360° (TP:±360°)

J2

±360° (TP:±95°)

±360° (TP:±95°)

±360° (TP:±95°)

±360° (TP:±95°)

±125° (TP:±95°)

±125° (TP:±95°)

J3

±150° (TP:±125°)

±165° (TP:±145°)

±160° (TP:±135°)

±150° (TP:±125°)

±160° (TP:±135°)

±160° (TP:±135°)

J4

±360° (TP:±360°)

±360° (TP:±360°)

±360° (TP:±360°)

±360° (TP:±360°)

±360° (TP:±360°)

±360° (TP:±360°)

J5

±360° (TP:±135°)

±360° (TP:±135°)

±360° (TP:±135°)

±360° (TP:±135°)

±360° (TP:±135°)

±360° (TP:±135°)

J6

±360° (TP:±360°)

±360° (TP:±360°)

±360° (TP:±360°)

±360° (TP:±360°)

±360° (TP:±360°)

±360° (TP:±360°)

Max. Velocità per asse (funzionamento con carico utile nominale)

J1

150 °/s

100 °/s

120 °/s

150 °/s

100 °/s

100 °/s

J2

150 °/s

100 °/s

120 °/s

150 °/s

80 °/s

80 °/s

J3

180 °/s

150 °/s

180 °/s

180 °/s

100 °/s

100 °/s

J4

225 °/s

225 °/s

225 °/s

225 °/s

180 °/s

180 °/s

J5

225 °/s

225 °/s

225 °/s

225 °/s

180 °/s

180 °/s

J6

225 °/s

225 °/s

225 °/s

225 °/s

180 °/s

180 °/s