Breadcrumbs

Spécifications du robot

Espace de fonctionnement du robot

M0609

image2021-11-16_15-7-29.png
image2021-11-16_15-8-1.png

M0617

image2021-11-15_10-48-45.png
image2021-11-15_10-50-2.png

M1013

image2021-11-16_14-7-37.png
image2021-11-15_10-44-48.png

M1509

image2021-11-15_10-51-23.png
image2021-11-15_10-52-18.png

H2017

external_H2017 working space.PNG
image2021-11-15_10-54-19.png

H2515

external_H2515 working space.PNG
image2021-11-15_16-21-14.png


Max. Charge utile dans l'espace de fonctionnement

La charge utile maximale du robot dans son espace de travail varie en fonction de la distance par rapport au centre de gravité. La charge utile par distance est la suivante :

Remarque

Ce diagramme de charge suppose un petit volume de charge d'outil. Les outils avec un volume plus important auront des limitations plus importantes de charge utile au-dessus du centre de gravité de l’outil par rapport à un outil avec un poids égal mais un volume plus petit, et dans de tels cas, des vibrations peuvent se produire.


M0609

image2021-11-15_11-21-40.png

M0609

image2021-11-15_11-21-18.png

M1013

image2021-11-15_11-20-45.png

M1509

image2021-11-15_11-20-16.png

H2017

image2021-11-15_11-19-49.png

H2515

image2021-11-15_11-19-23.png


Moment et inertie autorisés

Le moment et l'inertie autorisés pour J4-J6 du robot sont les suivants :

Nom du modèle

J4

J5

J6

Moment autorisé

Inertie

Moment autorisé

Inertie

Moment autorisé

Inertie

M0609

36 Nm

1,6 kg㎡

36 Nm

1,6 kg㎡

36 Nm

1,6 kg㎡

M0617

M1013

M1509

H2017

145 Nm

8,0 kg㎡

81 Nm

4,5 kg㎡

36 Nm

2,0 kg㎡

H2515

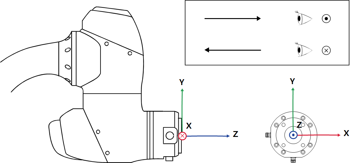
Point central de l'outil (TCP)

Reportez-vous à la figure ci-dessous pour TCP.

image2021-11-16_14-30-50.png


Spécifications de base

Nom du modèle

M0609

M0617

M1013

M1509

H2017

H2515

Poids

27 kg

34 kg

33 kg

32 kg

79 kg

77 kg

Charge utile dans le rayon de travail

6 kg

6 kg

10 kg

15 kg

20 kg

25 kg

Max. Rayon de travail

900 mm

1700 mm

1300 mm

900 mm

1700 mm

1500 mm

Nombre d'axes

6

Max. Vitesse TCP

Plus de 1 m/s.

Répétabilité de position (ISO 9283)

±0,03 mm

±0,1 mm

±0,05 mm

±0,03 mm

±0,1 mm

Indice de protection

IP 54

Bruit

< 65 dB

Sens d'installation

Toute orientation

Plancher seulement

Contrôleur et télécommande d'apprentissage

Contrôleur Doosan et pendentif d'apprentissage

Vibrations et accélération

㎐ amplitude de 10≤f < 57 - 0,075 mm

57≤f≤150㎐ – 1 G.

Impact

Amplitude max. : 50㎨(5G)

  • * Temps :30㎳ , impulsion : 3 SUR 3 (X, Y, Z)

Température de fonctionnement

0 ℃ (273 000 à 318 000)

Température de stockage

-5 ℃ (268K à 323K)

Humidité

20 % ~ 80 %


Spécifications de l'axe

Nom du modèle

M0609

M0617

M1013

M1509

H2017

H2515

Angle de fonctionnement

J1

±360㎐)

±360㎐)

±360㎨)

±360㎳)

±360℃)

±360℃)

J2

±360℃)

±360℃)

±360°)

±360°)

±125°)

±125°)

J3

±150°)

±165°)

±160°)

±150°)

±160°)

±160°)

J4

±360°)

±360°)

±360°)

±360°)

±360°)

±360°)

J5

±360°)

±360°)

±360°)

±360°)

±360°)

±360°)

J6

±360°)

±360°)

±360°)

±360°)

±360°)

±360°)

Max. Vitesse par axe (fonctionnement avec charge utile nominale)

J1

150 °/s

100 °/s

120 °/s

150 °/s

100 °/s

100 °/s

J2

150 °/s

100 °/s

120 °/s

150 °/s

80 °/s

80 °/s

J3

180 °/s

150 °/s

180 °/s

180 °/s

100 °/s

100 °/s

J4

225 °/s

225 °/s

225 °/s

225 °/s

180 °/s

180 °/s

J5

225 °/s

225 °/s

225 °/s

225 °/s

180 °/s

180 °/s

J6

225 °/s

225 °/s

225 °/s

225 °/s

180 °/s

180 °/s