Breadcrumbs

机械手规格

机械手操作空间

M0609

image2021-11-16_15-7-29.png
image2021-11-16_15-8-1.png

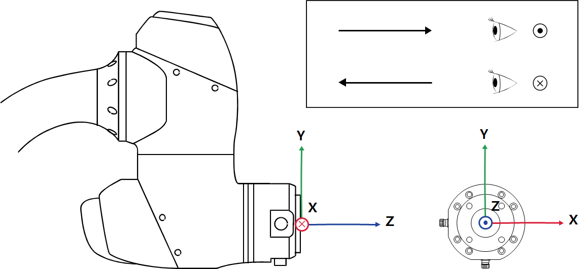
M0617

image2021-11-15_10-48-45.png
image2021-11-15_10-50-2.png

M1013

image2021-11-16_14-7-37.png
image2021-11-15_10-44-48.png

M1509

image2021-11-15_10-51-23.png
image2021-11-15_10-52-18.png

H2017

external_H2017 working space.PNG
image2021-11-15_10-54-19.png

H2515

external_H2515 working space.PNG
image2021-11-15_16-21-14.png


最大 工作空间内的有效载荷

机器人在其工作空间内的最大有效载荷根据与重心的距离而变化。每个距离的有效载荷如下:

注意

此载荷图假定刀具载荷体积较小。与重量相等但体积较小的刀具相比,体积较大的刀具在重心以上的有效载荷限制更大,在这种情况下,可能会发生振动。


M0609

image2021-11-15_11-21-40.png

M0609

image2021-11-15_11-21-18.png

M1013

image2021-11-15_11-20-45.png

M1509

image2021-11-15_11-20-16.png

H2017

image2021-11-15_11-19-49.png

H2515

image2021-11-15_11-19-23.png


允许的力矩和惯性

机器人J4-J6的允许力矩和惯性如下:

型号名称

J4

J5

J6

允许的时刻

惯性

允许的时刻

惯性

允许的时刻

惯性

M0609

36牛米

1.6千克㎡

36牛米

1.6千克㎡

36牛米

1.6千克㎡

M0617

M1013

M1509

H2017

145牛米

8.0千克㎡

81牛米

4.5千克㎡

36牛米

2.0千克㎡

H2515

工具中心点(TCP)

有关TCP,请参阅下图。

image2021-11-16_14-30-50.png


基本规格

型号名称

M0609

M0617

M1013

M1509

H2017

H2515

重量

27公斤

34公斤

33公斤

32公斤

79公斤

77公斤

工作半径内的有效负载

6千克

6千克

10千克

15千克

20公斤

25公斤

最大 工作半径

900毫米

1700毫米

1300毫米

900毫米

1700毫米

1500毫米

轴数

6

最大 TCP速度

超过1 m/s

位置重复性(ISO 9283)

±0.03毫米

±0.1毫米

±0.05毫米

±0.03毫米

±0.1毫米

保护等级

IP 54

噪音

< 65 dB

安装方向

任何方向

仅限地板

控制器和教学手控盒

斗山控制器和教学吊坠

振动和加速度

10≤f<57㎐ - 0.075mm振幅

57≤f≤150㎐ –1G

影响

最大振幅:50㎨(5G)

  • *时间:30,㎳ 脉搏: 第3页(X,Y,Z)

工作温度

0 ℃ ~45 ℃ (273K至318K)

存储温度

-5 ℃ ~50 ℃ (268K至323K)

湿度

20%~ 80%


轴规格

型号名称

M0609

M0617

M1013

M1509

H2017

H2515

操作角度

J1

±360° (TP:±360°)

±360° (TP:±360°)

±360° (TP:±360°)

±360° (TP:±360°)

±360° (TP:±360°)

±360° (TP:±360°)

J2

±360° (TP:±95°)

±360° (TP:±95°)

±360° (TP:±95°)

±360° (TP:±95°)

±125° (TP:±95°)

±125° (TP:±95°)

J3

±150° (TP:±125°)

±165° (TP:±145°)

±160° (TP:±135°)

±150° (TP:±125°)

±160° (TP:±135°)

±160° (TP:±135°)

J4

±360° (TP:±360°)

±360° (TP:±360°)

±360° (TP:±360°)

±360° (TP:±360°)

±360° (TP:±360°)

±360° (TP:±360°)

J5

±360° (TP:±135°)

±360° (TP:±135°)

±360° (TP:±135°)

±360° (TP:±135°)

±360° (TP:±135°)

±360° (TP:±135°)

J6

±360° (TP:±360°)

±360° (TP:±360°)

±360° (TP:±360°)

±360° (TP:±360°)

±360° (TP:±360°)

±360° (TP:±360°)

最大 每轴转速(额定有效负载操作)

J1

150 °/s

100 °/s

120 °/s

150 °/s

100 °/s

100 °/s

J2

150 °/s

100 °/s

120 °/s

150 °/s

80 °/s

80 °/s

J3

180 °/s

150 °/s

180 °/s

180 °/s

100 °/s

100 °/s

J4

225 °/s

225 °/s

225 °/s

225 °/s

180 °/s

180 °/s

J5

225 °/s

225 °/s

225 °/s

225 °/s

180 °/s

180 °/s

J6

225 °/s

225 °/s

225 °/s

225 °/s

180 °/s

180 °/s