Breadcrumbs

로봇의 사양

로봇의 작업영역

M0609

image2021-11-16_15-7-29.png
image2021-11-16_15-8-1.png

M0617

image2021-11-15_10-48-45.png
image2021-11-15_10-50-2.png

M1013

image2021-11-16_14-7-37.png
image2021-11-15_10-44-48.png

M1509

image2021-11-15_10-51-23.png
image2021-11-15_10-52-18.png

H2017

external_H2017 working space.PNG
image2021-11-15_10-54-19.png

H2515

external_H2515 working space.PNG
image2021-11-15_16-21-14.png


작업영역내에서의 최대 가반하중

작업 영역 내에서 로봇의 최대 가반하중은 무게 중심 거리에 따라 달라집니다. 거리별 가반 하중은 다음과 같습니다.

알아두기

본 부하 다이어그램은 작은 툴 부하체적을 가정합니다. 동일한 중량의 툴이라도 큰 부하 체적을 갖는 이 경우 툴의 무게중심은 위의 가반하중보다 더 제한될 수 있으며 이 경우 진동 등이 발생할 가능성이 있습니다.


M0609

image2021-11-15_11-21-40.png

M0609

image2021-11-15_11-21-18.png

M1013

image2021-11-15_11-20-45.png

M1509

image2021-11-15_11-20-16.png

H2017

image2021-11-15_11-19-49.png

H2515

image2021-11-15_11-19-23.png


허용 모멘트 및 관성(Inertia)

로봇의 J4~J6의 허용 모멘트 및 관성(Inertia) 정보는 아래와 같습니다.

모델명

J4

J5

J6

허용 모멘트

관성 (Inertia)

허용 모멘트

관성 (Inertia)

허용 모멘트

관성 (Inertia)

M0609

36 Nm

1.6 kg㎡

36 Nm

1.6 kg㎡

36 Nm

1.6 kg㎡

M0617

M1013

M1509

H2017

145 Nm

8.0 kg㎡

81Nm

4.5 kg㎡

36 Nm

2.0 kg㎡

H2515

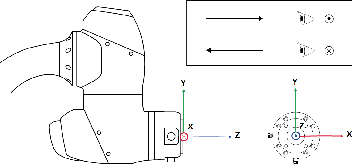
툴의 중심 위치

툴의 중심 위치는 아래 그림을 참조하세요.

image2021-11-16_14-30-50.png

기본 사양

모델명

M0609

M0617

M1013

M1509

H2017

H2515

중량

27 kg

34 kg

33 kg

32 kg

79 kg

77 kg

작업 반경내에서의 가반하중

6 kg

6 kg

10 kg

15 kg

20 kg

25 kg

최대 작업 반경

900 mm

1700 mm

1300 mm

900 mm

1700mm

1500mm

축의 개수

6

최대 TCP 속도

Over 1 m/s

위치 반복정밀도(ISO 9283)

±0.03 mm

±0.1 mm

±0.05 mm

±0.03 mm

±0.1 mm

보호등급

IP 54

소음

< 65 dB

설치 방향

모든 방향 (Any Orientation)

바닥 (Only Floor)

컨트롤러 및 티칭펜던트

Doosan Controller & Teach Pendant

진동 및 가속도

10≤f<57㎐ - 0.075mm amplitude

57≤f≤150㎐ – 1G

충격

Max Amplitude : 50㎨(5G)

  • Time :30㎳ , Pulse : 3 of 3 (X,Y,Z)

동작 온도

0 ℃ ~45 ℃ (273K to 318K)

보관 온도

-5 ℃ ~50 ℃ (268K to 323K)

습도

20%~80%


축별 사양

모델명

M0609

M0617

M1013

M1509

H2017

H2515

가동각

J1

±360° (TP:±360°)

±360° (TP:±360°)

±360° (TP:±360°)

±360° (TP:±360°)

±360° (TP:±360°)

±360° (TP:±360°)

J2

±360° (TP:±95°)

±360° (TP:±95°)

±360° (TP:±95°)

±360° (TP:±95°)

±125° (TP:±95°)

±125° (TP:±95°)

J3

±150° (TP:±125°)

±165° (TP:±145°)

±160° (TP:±135°)

±150° (TP:±125°)

±160° (TP:±135°)

±160° (TP:±135°)

J4

±360° (TP:±360°)

±360° (TP:±360°)

±360° (TP:±360°)

±360° (TP:±360°)

±360° (TP:±360°)

±360° (TP:±360°)

J5

±360° (TP:±135°)

±360° (TP:±135°)

±360° (TP:±135°)

±360° (TP:±135°)

±360° (TP:±135°)

±360° (TP:±135°)

J6

±360° (TP:±360°)

±360° (TP:±360°)

±360° (TP:±360°)

±360° (TP:±360°)

±360° (TP:±360°)

±360° (TP:±360°)

축별 최대 속도(정격 가반하중 운전시)

J1

150 °/s

100 °/s

120 °/s

150 °/s

100 °/s

100 °/s

J2

150 °/s

100 °/s

120 °/s

150 °/s

80 °/s

80 °/s

J3

180 °/s

150 °/s

180 °/s

180 °/s

100 °/s

100 °/s

J4

225 °/s

225 °/s

225 °/s

225 °/s

180 °/s

180 °/s

J5

225 °/s

225 °/s

225 °/s

225 °/s

180 °/s

180 °/s

J6

225 °/s

225 °/s

225 °/s

225 °/s

180 °/s

180 °/s