Breadcrumbs

ロボット仕様

ロボット操作スペース

M0609

image2021-11-16_15-7-29.png
image2021-11-16_15-8-1.png

M0617

image2021-11-15_10-48-45.png
image2021-11-15_10-50-2.png

M1013

image2021-11-16_14-7-37.png
image2021-11-15_10-44-48.png

M1509

image2021-11-15_10-51-23.png
image2021-11-15_10-52-18.png

H2017

external_H2017 working space.PNG
image2021-11-15_10-54-19.png

H2515

external_H2515 working space.PNG
image2021-11-15_16-21-14.png


最大 動作スペース内のペイロード

運転空間内のロボットの最大ペイロードは、重心からの距離によって変化します。距離あたりのペイロードは次のとおりです。

注記

この荷重図では、工具の荷重量が小さいことを前提としています。体積が大きい工具は、重量が同じで体積が小さい工具と比較して、重心より上のペイロードの制限が大きくなり、振動が発生する可能性があります。


M0609

image2021-11-15_11-21-40.png

M0609

image2021-11-15_11-21-18.png

M1013

image2021-11-15_11-20-45.png

M1509

image2021-11-15_11-20-16.png

H2017

image2021-11-15_11-19-49.png

H2515

image2021-11-15_11-19-23.png


許容されるモーメントと慣性

ロボットのJ4-J6で許容されるモーメントと慣性は次のとおりです。

モデル名

J4

J5

J6

許容されるモーメント

慣性

許容されるモーメント

慣性

許容されるモーメント

慣性

M0609

36 Nm

1.6 kg㎡

36 Nm

1.6 kg㎡

36 Nm

1.6 kg㎡

M0617

M1013

M1509

H2017

145 Nm

8.0 kg㎡

81 Nm

4.5 kg㎡

36 Nm

2.0 kg㎡

H2515

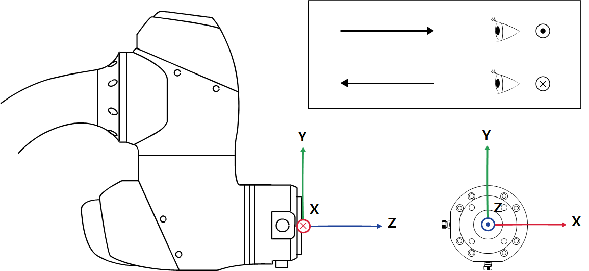
ツール中心点(TCP)

TCPについては、次の図を参照してください。

image2021-11-16_14-30-50.png


基本仕様

モデル名

M0609

M0617

M1013

M1509

H2017

H2515

重さ

27 kg

34 kg

33 kg

32 kg

79 kg

77 kg

作業半径内のペイロード

6 kg

6 kg

10 kg

15 kg

20 kg

25 kg

最大 作業半径

900 mm

1700 mm

1300 mm

900 mm

1700 mm

1500 mm

軸の数

6

最大 TCP速度

1m/s以上

位置の再現性(ISO 9283)

±0.03 mm

±0.1 mm

±0.05 mm

±0.03 mm

±0.1 mm

保護等級

IP 54

ノイズ

65 dB未満

インストール方向

任意の方向

フロアのみ

コントローラーとティーチングペンダント

斗山コントローラ&ティーチペンダント

振動と加速度

10≤f ㎐ 57-0.075mm振幅

57≤f≤150㎐ –1G

インパクト

最大振幅:50㎨(5G)

  • *時間:30㎳ 、パルス:3/3(X、Y、Z)

動作温度

0~45 ℃ ℃ (273K~318K)

保管温度

-5~50 ℃ ℃ (268K~323K)

湿度

20%~80%


軸の仕様

モデル名

M0609

M0617

M1013

M1509

H2017

H2515

動作角度

J1

±360° (TP:±360°)

±360° (TP:±360°)

±360° (TP:±360°)

±360° (TP:±360°)

±360° (TP:±360°)

±360° (TP:±360°)

J2

±360° (TP:±95°)

±360° (TP:±95°)

±360° (TP:±95°)

±360° (TP:±95°)

±125° (TP:±95°)

±125° (TP:±95°)

J3

±150° (TP:±125°)

±165° (TP:±145°)

±160° (TP:±135°)

±150° (TP:±125°)

±160° (TP:±135°)

±160° (TP:±135°)

J4

±360° (TP:±360°)

±360° (TP:±360°)

±360° (TP:±360°)

±360° (TP:±360°)

±360° (TP:±360°)

±360° (TP:±360°)

J5

±360° (TP:±135°)

±360° (TP:±135°)

±360° (TP:±135°)

±360° (TP:±135°)

±360° (TP:±135°)

±360° (TP:±135°)

J6

±360° (TP:±360°)

±360° (TP:±360°)

±360° (TP:±360°)

±360° (TP:±360°)

±360° (TP:±360°)

±360° (TP:±360°)

最大 軸あたりの速度(定格ペイロード動作)

J1

150 °/秒

100 °/秒

120 °/秒

150 °/秒

100 °/秒

100 °/秒

J2

150 °/秒

100 °/秒

120 °/秒

150 °/秒

80 °/秒

80 °/秒

J3

180 °/秒

150 °/秒

180 °/秒

180 °/秒

100 °/秒

100 °/秒

J4

225 °/秒

225 °/秒

225 °/秒

225 °/秒

180 °/秒

180 °/秒

J5

225 °/秒

225 °/秒

225 °/秒

225 °/秒

180 °/秒

180 °/秒

J6

225 °/秒

225 °/秒

225 °/秒

225 °/秒

180 °/秒

180 °/秒