Breadcrumbs

Roboterspezifikationen

Arbeitsraum des Roboters

M0609

image2021-11-16_15-7-29.png
image2021-11-16_15-8-1.png

M0617

image2021-11-15_10-48-45.png
image2021-11-15_10-50-2.png

M1013

image2021-11-16_14-7-37.png
image2021-11-15_10-44-48.png

M1509

image2021-11-15_10-51-23.png
image2021-11-15_10-52-18.png

H2017

external_H2017 working space.PNG
image2021-11-15_10-54-19.png

H2515

external_H2515 working space.PNG
image2021-11-15_16-21-14.png


Maximale Traglast innerhalb des Aktionsraums

Die maximale Traglast des Roboters innerhalb seines Aktionsraums ändert sich entsprechend dem Abstand vom Schwerpunkt. Traglast gemäß Abstand ist wie folgt:

Hinweis

Dieses Lastdiagramm setzt ein geringes Ladevolumen des Werkzeugs voraus. Werkzeuge mit einem größeren Volumen werden im Vergleich zu einem Werkzeug gleichen Gewichts, aber geringeren Volumens größere Einschränkungen in Bezug auf Traglast oberhalb des Werkzeugschwerpunkts aufweisen, und in solchen Fällen kann es zu Vibrationen kommen.


M0609

image2021-11-15_11-21-40.png

M0609

image2021-11-15_11-21-18.png

M1013

image2021-11-15_11-20-45.png

M1509

image2021-11-15_11-20-16.png

H2017

image2021-11-15_11-19-49.png

H2515

image2021-11-15_11-19-23.png


Zulässiges Moment und Trägheit

Das zulässige Moment und die Trägheit des Roboters J4-J6 sind wie folgt:

Modellname

J4

J5

J6

Zulässiger Moment

Trägheit

Zulässiger Moment

Trägheit

Zulässiger Moment

Trägheit

M0609

36 Nm

1.6 kg㎡

36 Nm

1.6 kg㎡

36 Nm

1.6 kg㎡

M0617

M1013

M1509

H2017

145 Nm

8.0 kg㎡

81 Nm

4.5 kg㎡

36 Nm

2.0 kg㎡

H2515

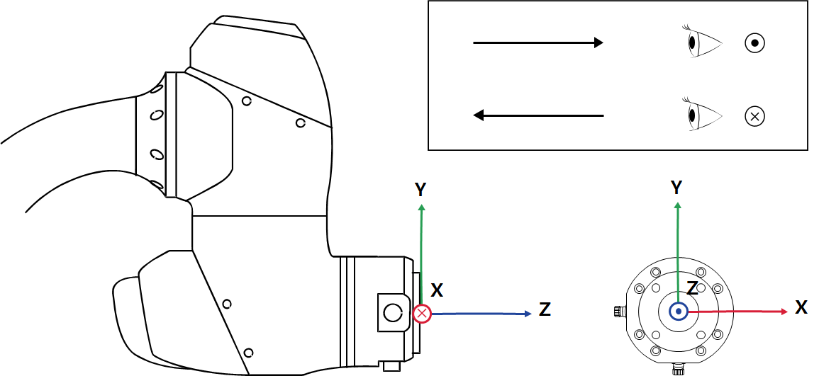
Werkzeugmittelpunkt (TCP)

Siehe Abbildung unten für TCP.

image2021-11-16_14-30-50.png


Grundlegende technische Daten

Modellname

M0609

M0617

M1013

M1509

H2017

H2515

Gewicht

27 kg

34 kg

33 kg

32 kg

79 kg

77 kg

Nutzlast innerhalb des Arbeitsradius

6 kg

6 kg

10 kg

15 kg

20 kg

25 kg

Max. Arbeitsradius

900 mm

1700 mm

1300 mm

900 mm

1700 mm

1500 mm

Anzahl der Achsen

6

Max. TCP-Geschwindigkeit

Über 1 m/s

Wiederholbarkeit der Position (ISO 9283)

±0.03 mm

±0.1 mm

±0.05 mm

±0.03 mm

±0.1 mm

Schutzart

IP 54

Lärm

< 65 dB

Einbaurichtung

Beliebige Ausrichtung

Nur Boden

Controller und Programmierhandgerät

Doosan Controller Und Programmierhandgerät

Vibration und Beschleunigung

10≤f<57㎐ - 0.075 mm Amplitude

57≤f≤150㎐ – 1G

Auswirkung

Max. Amplitude: 50㎨(5G)

  • * Zeit:30㎳ , Impuls : 3 VON 3 (X,Y,Z)

Betriebstemperatur

0 ℃ ~45 ℃ (273 K bis 318 K)

Lagertemperatur

-5 ℃ ~50 ℃ (268 K bis 323 K)

Luftfeuchtigkeit

20 % ~ 80 %


Achsenspezifikationen

Modellname

M0609

M0617

M1013

M1509

H2017

H2515

Betriebswinkel

J1

±360° (TP:±360°)

±360° (TP:±360°)

±360° (TP:±360°)

±360° (TP:±360°)

±360° (TP:±360°)

±360° (TP:±360°)

J2

±360° (TP:±95°)

±360° (TP:±95°)

±360° (TP:±95°)

±360° (TP:±95°)

±125° (TP:±95°)

±125° (TP:±95°)

J3

±150° (TP:±125°)

±165° (TP:±145°)

±160° (TP:±135°)

±150° (TP:±125°)

±160° (TP:±135°)

±160° (TP:±135°)

J4

±360° (TP:±360°)

±360° (TP:±360°)

±360° (TP:±360°)

±360° (TP:±360°)

±360° (TP:±360°)

±360° (TP:±360°)

J5

±360° (TP:±135°)

±360° (TP:±135°)

±360° (TP:±135°)

±360° (TP:±135°)

±360° (TP:±135°)

±360° (TP:±135°)

J6

±360° (TP:±360°)

±360° (TP:±360°)

±360° (TP:±360°)

±360° (TP:±360°)

±360° (TP:±360°)

±360° (TP:±360°)

Max. Drehzahl pro Achse (Nutzlastbetrieb)

J1

150 °/s

100 °/s

120 °/s

150 °/s

100 °/s

100 °/s

J2

150 °/s

100 °/s

120 °/s

150 °/s

80 °/s

80 °/s

J3

180 °/s

150 °/s

180 °/s

180 °/s

100 °/s

100 °/s

J4

225 °/s

225 °/s

225 °/s

225 °/s

180 °/s

180 °/s

J5

225 °/s

225 °/s

225 °/s

225 °/s

180 °/s

180 °/s

J6

225 °/s

225 °/s

225 °/s

225 °/s

180 °/s

180 °/s