将电缆连接到控制器
必填 简单 1 分钟

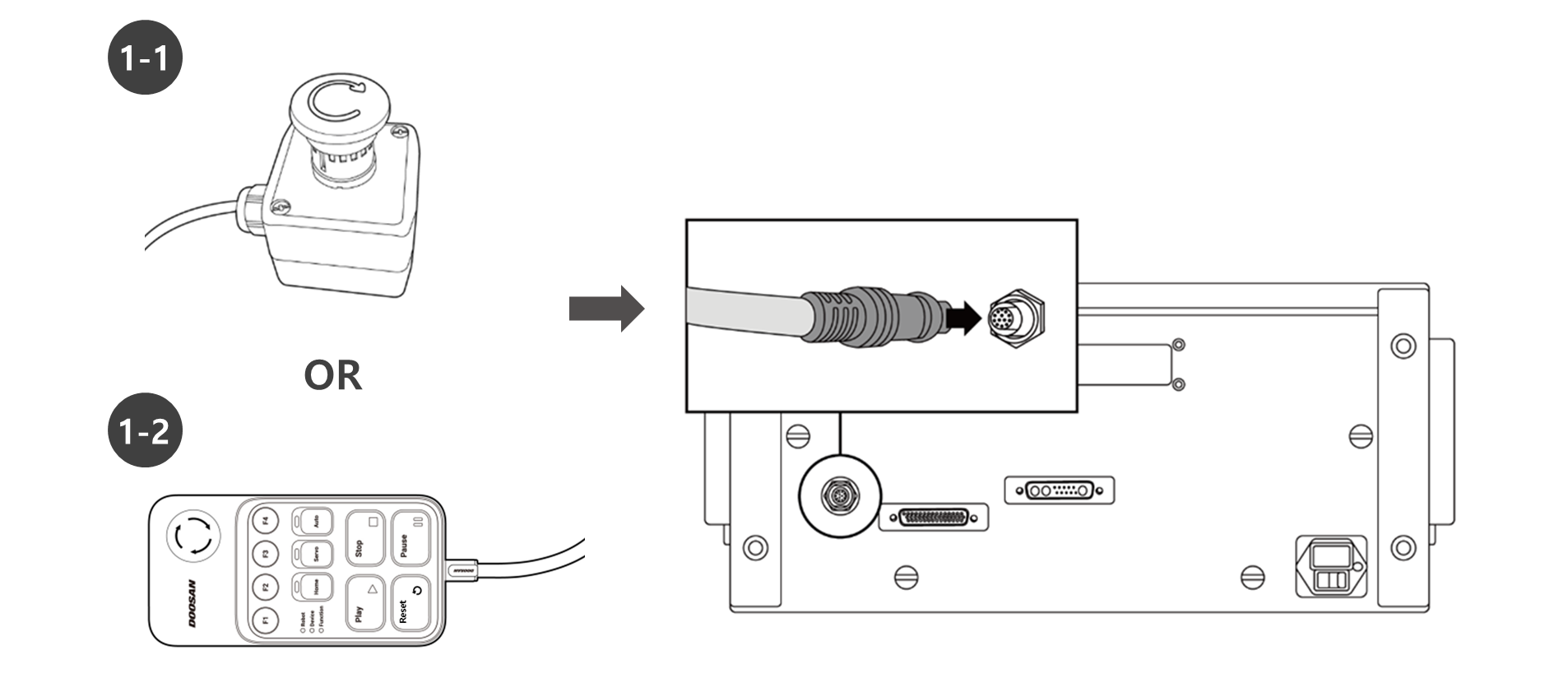
如果是 A 系列,请连接紧急停止按钮电缆或智能手控盒 (可选)。将线控器 (可选) 和机械手电缆连接到控制器。
- 将紧急停止按钮电缆或智能手控盒 (可选) 电缆连接到相应的控制器连接器,并顺时针旋转螺杆锁以防止电缆松动,从而接合螺杆锁。
- 将线控器 (可选) 电缆推入相应的控制器连接器,直至听到咔嗒声。这将防止电缆松动。
- 将机械手电缆的另一端推入相应的控制器连接器,直至听到咔嗒声,以防止电缆松动。



小心
- 在连接电缆之前,请确保检查电缆端的针脚是否损坏或弯曲。
- 如果电磁波产生的噪音导致问题,则必须安装铁氧体磁芯以确保正常运行。有关铁氧体磁芯安装位置的详细信息,请参阅以下内容: