机械手规格
机械手操作空间
M0609
![]() | ![]() |
M0617
![]() | ![]() |
M1013
![]() | ![]() |
M1509
![]() | ![]() |
H2017
![]() |
H2515
![]() |
最大 工作空间内的有效载荷
机器人在其工作空间内的最大有效载荷根据与重心的距离而变化。每个距离的有效载荷如下:
注意
此载荷图假定刀具载荷体积较小。与重量相等但体积较小的刀具相比,体积较大的刀具在重心以上的有效载荷限制更大,在这种情况下,可能会发生振动。
M0609![]() | M0609![]() |
M1013![]() | M1509![]() |
H2017![]() | H2515![]() |
允许的力矩和惯性
机器人J4-J6的允许力矩和惯性如下:
型号名称 | J4 | J5 | J6 | |||
|---|---|---|---|---|---|---|
允许的时刻 | 惯性 | 允许的时刻 | 惯性 | 允许的时刻 | 惯性 | |
M0609 | 36牛米 | 1.6千克㎡ | 36牛米 | 1.6千克㎡ | 36牛米 | 1.6千克㎡ |
M0617 | ||||||
M1013 | ||||||
M1509 | ||||||
H2017 | 145牛米 | 8.0千克㎡ | 81牛米 | 4.5千克㎡ | 36牛米 | 2.0千克㎡ |
H2515 | ||||||
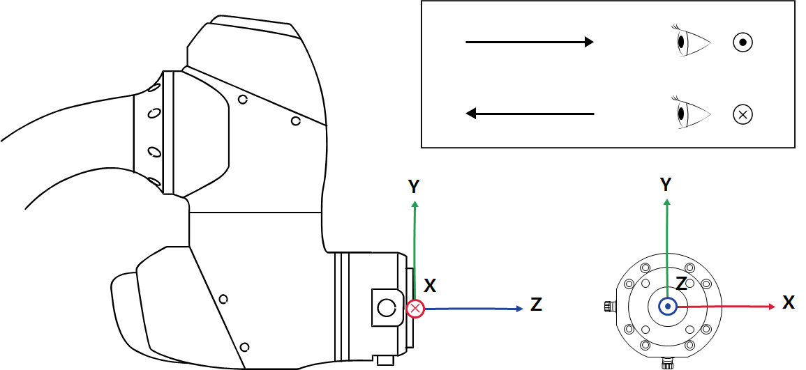
工具中心点(TCP)
有关TCP,请参阅下图。

基本规格
型号名称 | M0609 | M0617 | M1013 | M1509 | H2017 | H2515 | |
|---|---|---|---|---|---|---|---|
重量 | 27公斤 | 34公斤 | 33公斤 | 32公斤 | 79公斤 | 77公斤 | |
工作半径内的有效负载 | 6千克 | 6千克 | 10千克 | 15千克 | 20公斤 | 25公斤 | |
最大 工作半径 | 900毫米 | 1700毫米 | 1300毫米 | 900毫米 | 1700毫米 | 1500毫米 | |
轴数 | 6 | ||||||
最大 TCP速度 | 超过1 m/s | ||||||
位置重复性(ISO 9283) | ±0.03毫米 | ±0.1毫米 | ±0.05毫米 | ±0.03毫米 | ±0.1毫米 | ||
保护等级 | IP 54 | ||||||
噪音 | < 65 dB | ||||||
安装方向 | 任何方向 | 仅限地板 | |||||
控制器和教学手控盒 | 斗山控制器和教学吊坠 | ||||||
振动和加速度 | 10≤f㎐ - 0.075mm振幅 57≤f≤150㎐ –1G | ||||||
影响 | 最大振幅:50㎨(5G)
| ||||||
工作温度 | 0 ℃ ~45 ℃ (273K至318K) | ||||||
存储温度 | -5 ℃ ~50 ℃ (268K至323K) | ||||||
湿度 | 20%~ 80% | ||||||
轴规格
型号名称 | M0609 | M0617 | M1013 | M1509 | H2017 | H2515 |
|---|---|---|---|---|---|---|
操作角度 | ||||||
J1 | ±360° (TP:±360°) | ±360° (TP:±360°) | ±360° (TP:±360°) | ±360° (TP:±360°) | ±360° (TP:±360°) | ±360° (TP:±360°) |
J2 | ±360° (TP:±95°) | ±360° (TP:±95°) | ±360° (TP:±95°) | ±360° (TP:±95°) | ±125° (TP:±95°) | ±125° (TP:±95°) |
J3 | ±150° (TP:±125°) | ±165° (TP:±145°) | ±160° (TP:±135°) | ±150° (TP:±125°) | ±160° (TP:±135°) | ±160° (TP:±135°) |
J4 | ±360° (TP:±360°) | ±360° (TP:±360°) | ±360° (TP:±360°) | ±360° (TP:±360°) | ±360° (TP:±360°) | ±360° (TP:±360°) |
J5 | ±360° (TP:±135°) | ±360° (TP:±135°) | ±360° (TP:±135°) | ±360° (TP:±135°) | ±360° (TP:±135°) | ±360° (TP:±135°) |
J6 | ±360° (TP:±360°) | ±360° (TP:±360°) | ±360° (TP:±360°) | ±360° (TP:±360°) | ±360° (TP:±360°) | ±360° (TP:±360°) |
最大 每轴转速(额定有效负载操作) | ||||||
J1 | 150 °/s | 100 °/s | 120 °/s | 150 °/s | 100 °/s | 100 °/s |
J2 | 150 °/s | 100 °/s | 120 °/s | 150 °/s | 80 °/s | 80 °/s |
J3 | 180 °/s | 150 °/s | 180 °/s | 180 °/s | 100 °/s | 100 °/s |
J4 | 225 °/s | 225 °/s | 225 °/s | 225 °/s | 180 °/s | 180 °/s |
J5 | 225 °/s | 225 °/s | 225 °/s | 225 °/s | 180 °/s | 180 °/s |
J6 | 225 °/s | 225 °/s | 225 °/s | 225 °/s | 180 °/s | 180 °/s |















