Ligar os cabos ao controlador
MENDATORY EASY 1 MIN

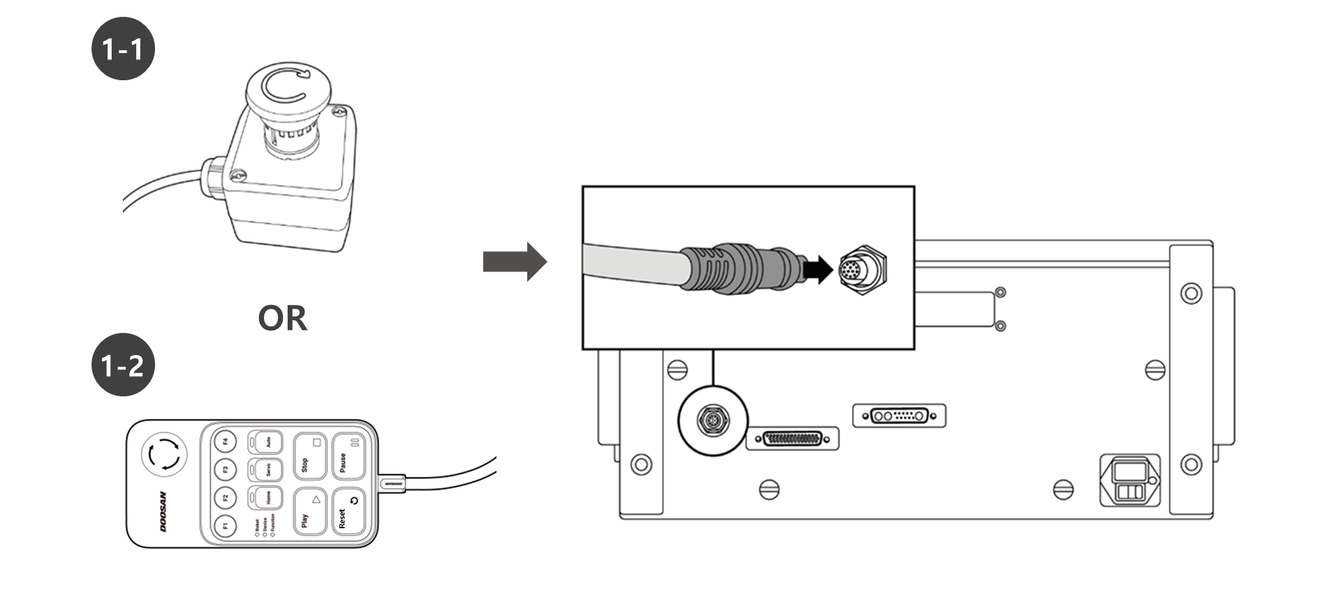
Para uma A série, ligue o cabo do botão de paragem de emergência ou o cabo opcional Smart Pendant. Conete o dispositivo opcional Teach-Pendant e o cabo do robô ao controlador.
- Conete o cabo do botão de parada de emergência ou o cabo opcional do pendente inteligente à conexão apropriada no controlador e, em seguida, preencha a trava do parafuso no sentido horário para evitar que o cabo caia.
- Conete o cabo opcional do pendente de reforço à conexão apropriada no controlador até que ele se encaixe no lugar para evitar que o cabo caia.
- Ligue a outra extremidade do cabo do robot à ligação correspondente no controlador até ouvir um estalido, para evitar que o cabo caia.



Cuidado
- Ao ligar cabos, certifique-se de que verifica a forma da ligação para evitar dobrar os pinos antes de os ligar.
- Se o ruído eletromagnético for afetado ou outro equipamento for afetado, um núcleo de ferrite deve ser instalado para uso normal. Para obter mais informações sobre a localização da instalação do núcleo de ferrite, consulte: