Podłączyć kabel do sterownika
OBOWIĄZKOWE ŁATWE 1 MIN

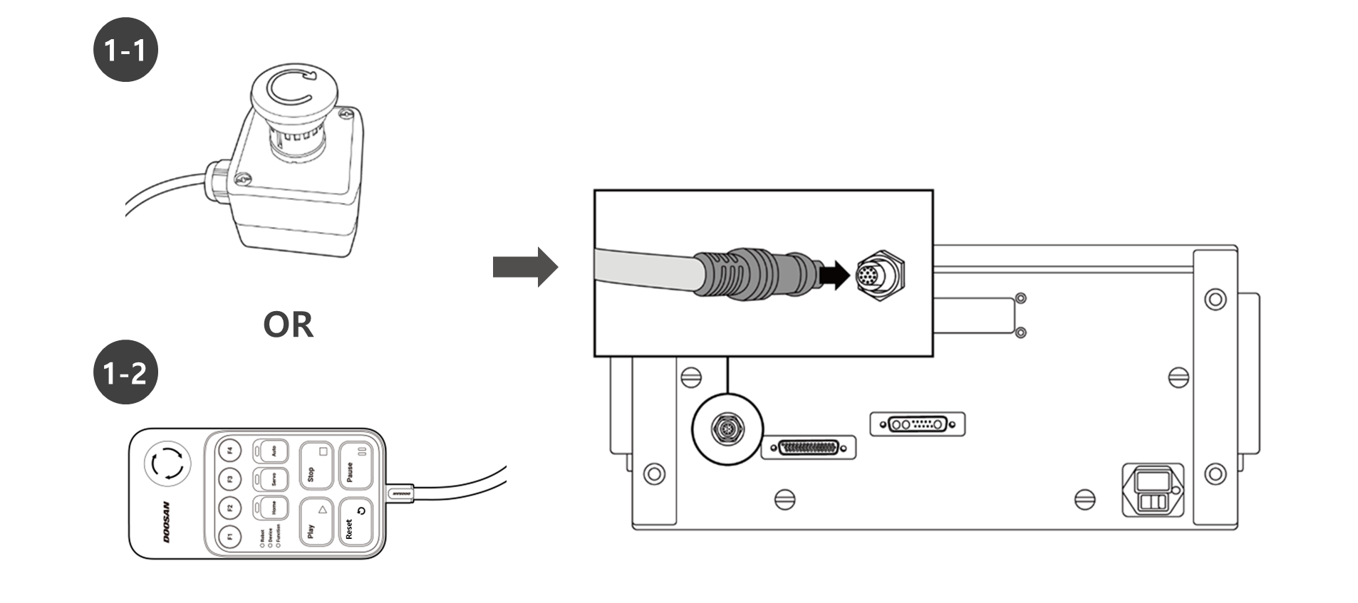
W przypadku urządzeń Serii A należy podłączyć kabel przycisku zatrzymania awaryjnego lub manipulator inteligentny (opcjonalny). Podłączyć manipulator uczyć (opcjonalny) i kable robota do sterownika.
- Podłącz kabel przycisku zatrzymania awaryjnego lub kabel inteligentnego manipulatora (opcjonalny) do odpowiedniego złącza sterownika i zakręć blokadę śrubową, obracając ją w prawo, aby zapobiec poluzowaniu kabla.
- Wsuń manipulator (opcjonalny) do odpowiedniego złącza kontrolera, aż usłyszysz kliknięcie. Zapobiegnie to poluzowaniu kabla.
- Wciśnij drugi koniec kabla robota do odpowiedniego złącza sterownika, aż usłyszysz kliknięcie, aby zapobiec poluzowaniu kabla.



PRZESTROGA
- Przed podłączeniem kabla upewnij się, że styki na końcu kabla nie są uszkodzone ani zagiąć.
- Jeśli hałas generowany przez fale elektromagnetyczne powoduje problemy, należy zainstalować rdzeń ferrytowy, aby zapewnić normalne działanie. Aby uzyskać więcej informacji na temat lokalizacji instalacji rdzenia ferrytowego, należy zapoznać się z następującymi informacjami: