Robotspecificaties
Bedieningsruimte robot
M0609
![]() | ![]() |
M0617
![]() | ![]() |
M1013
![]() | ![]() |
M1509
![]() | ![]() |
H2017
![]() |
H2515
![]() |
Max. Laadvermogen binnen de bedieningsruimte
Het maximale laadvermogen van de robot binnen zijn bedieningsruimte verandert afhankelijk van de afstand tot het zwaartepunt. Het laadvermogen per afstand is als volgt:
Opmerking
In dit lastschema wordt uitgegaan van een klein laadvolume van het gereedschap. Gereedschappen met een groter volume hebben grotere beperkingen in de lading boven het zwaartepunt van het gereedschap in vergelijking met een gereedschap met een gelijk gewicht maar een kleiner volume, en in dergelijke gevallen kunnen trillingen optreden.
M0609![]() | M0609![]() |
M1013![]() | M1509![]() |
H2017![]() | H2515![]() |
Toegestaan moment en traagheid
Het toegestane moment en de traagheid van J4-J6 van de robot zijn als volgt:
Modelnaam | J4 | J5 | J6 | |||
|---|---|---|---|---|---|---|
Toegestaan moment | Traagheid | Toegestaan moment | Traagheid | Toegestaan moment | Traagheid | |
M0609 | 36 Nm | 1,6 kg㎡ | 36 Nm | 1,6 kg㎡ | 36 Nm | 1,6 kg㎡ |
M0617 | ||||||
M1013 | ||||||
M1509 | ||||||
H2017 | 145 Nm | 8,0 kg㎡ | 81 Nm | 4,5 kg㎡ | 36 Nm | 2,0 kg㎡ |
H2515 | ||||||
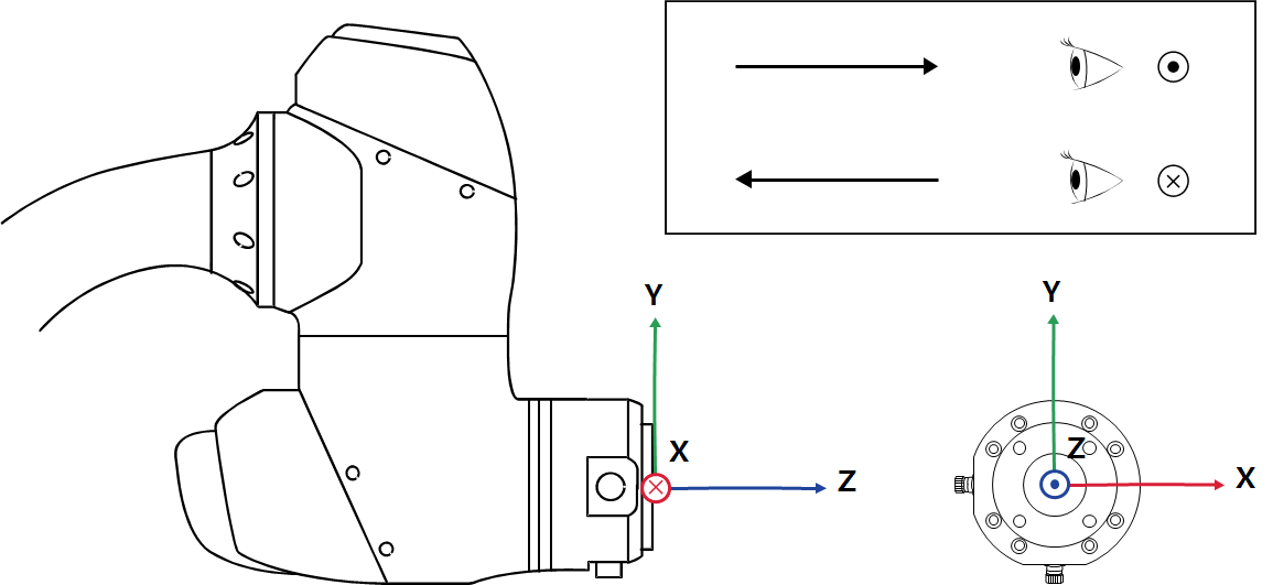
Tool Center Point (TCP)
Zie de onderstaande afbeelding voor TCP.

Basisspecificaties
Modelnaam | M0609 | M0617 | M1013 | M1509 | H2017 | H2515 | |
|---|---|---|---|---|---|---|---|
Gewicht | 27 kg | 34 kg | 33 kg | 32 kg | 79 kg | 77 kg | |
Laadvermogen binnen werkstraal | 6 kg | 6 kg | 10 kg | 15 kg | 20 kg | 25 kg | |
Max. Werkstraal | 900 mm | 1700 mm | 1300 mm | 900 mm | 1700 mm | 1500 mm | |
Aantal assen | 6 | ||||||
Max. TCP-snelheid | Meer dan 1 m/s. | ||||||
Herhaalbaarheid positie (ISO 9283) | ±0,03 mm | ±0,1 mm | ±0,05 mm | ±0,03 mm | ±0,1 mm | ||
Beschermingsgraad | IP 54 | ||||||
Lawaai | < 65 dB | ||||||
Installatierichting | Elke oriëntatie | Alleen verdieping | |||||
Controller en onderwijzende hanger | Doosan Controller & Teach hanger | ||||||
Trilling en acceleratie | 10≤f㎐ - 0,075 mm amplitude 57≤f≤150㎐ – 1G | ||||||
Impact | Max amplitude : 50㎨(5G)
| ||||||
Bedrijfstemperatuur | 0 ℃ ~45 ℃ (273K tot 318K) | ||||||
Opslagtemperatuur | -5 ℃ ~50 ℃ (268K tot 323K) | ||||||
Vochtigheid | 20% ~ 80% | ||||||
Asspecificaties
Modelnaam | M0609 | M0617 | M1013 | M1509 | H2017 | H2515 |
|---|---|---|---|---|---|---|
Bedieningshoek | ||||||
J1 | ±360° (TP:±360°) | ±360° (TP:±360°) | ±360° (TP:±360°) | ±360° (TP:±360°) | ±360° (TP:±360°) | ±360° (TP:±360°) |
J2 | ±360° (TP:±95°) | ±360° (TP:±95°) | ±360° (TP:±95°) | ±360° (TP:±95°) | ±125° (TP:±95°) | ±125° (TP:±95°) |
J3 | ±150° (TP:±125°) | ±165° (TP:±145°) | ±160° (TP:±135°) | ±150° (TP:±125°) | ±160° (TP:±135°) | ±160° (TP:±135°) |
J4 | ±360° (TP:±360°) | ±360° (TP:±360°) | ±360° (TP:±360°) | ±360° (TP:±360°) | ±360° (TP:±360°) | ±360° (TP:±360°) |
J5 | ±360° (TP:±135°) | ±360° (TP:±135°) | ±360° (TP:±135°) | ±360° (TP:±135°) | ±360° (TP:±135°) | ±360° (TP:±135°) |
J6 | ±360° (TP:±360°) | ±360° (TP:±360°) | ±360° (TP:±360°) | ±360° (TP:±360°) | ±360° (TP:±360°) | ±360° (TP:±360°) |
Max. Toerental per as (nominaal laadvermogen) | ||||||
J1 | 150 °/s | 100 °/s | 120 °/s | 150 °/s | 100 °/s | 100 °/s |
J2 | 150 °/s | 100 °/s | 120 °/s | 150 °/s | 80 °/s | 80 °/s |
J3 | 180 °/s | 150 °/s | 180 °/s | 180 °/s | 100 °/s | 100 °/s |
J4 | 225 °/s | 225 °/s | 225 °/s | 225 °/s | 180 °/s | 180 °/s |
J5 | 225 °/s | 225 °/s | 225 °/s | 225 °/s | 180 °/s | 180 °/s |
J6 | 225 °/s | 225 °/s | 225 °/s | 225 °/s | 180 °/s | 180 °/s |















