Skip to main content
Skip table of contents

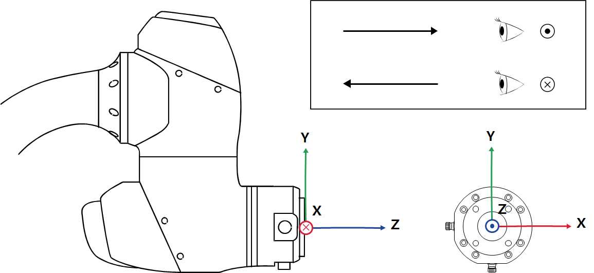
툴의 중심 위치

툴의 중심 위치는 아래 그림을 참조하세요.

JavaScript errors detected

Please note, these errors can depend on your browser setup.

If this problem persists, please contact our support.