Skip to main content
Skip table of contents

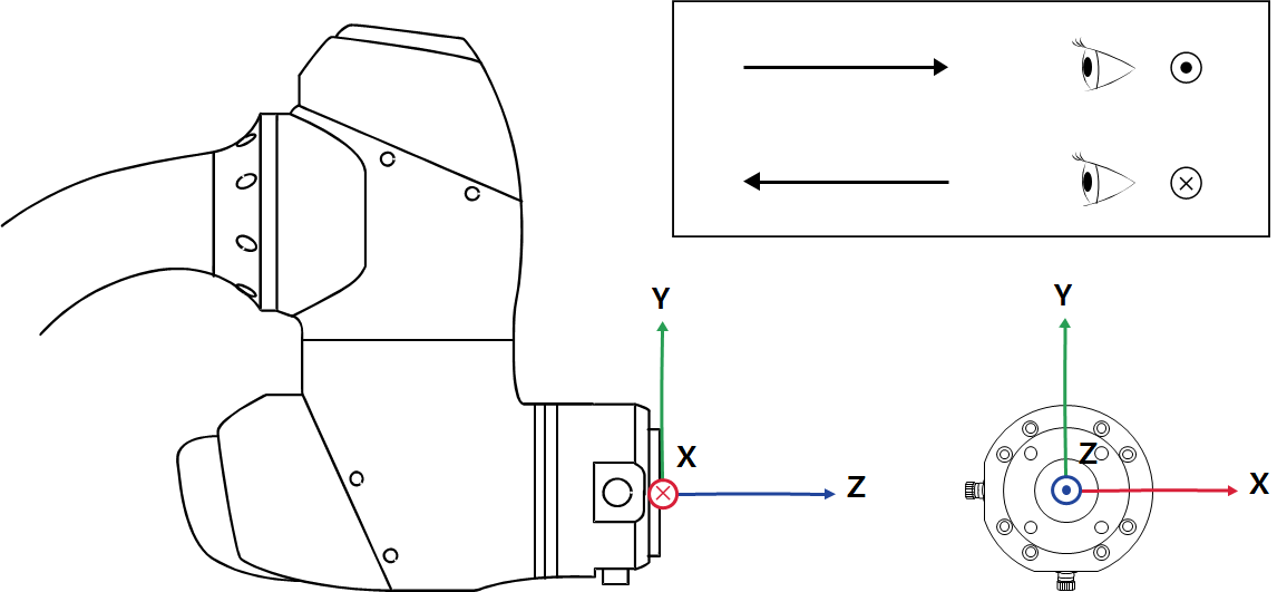
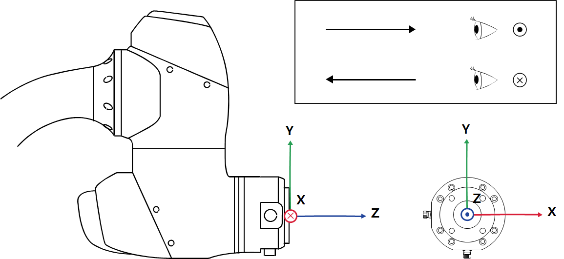
툴의 중심 위치

.

JavaScript errors detected

Please note, these errors can depend on your browser setup.

If this problem persists, please contact our support.