컨트롤러에 케이블 연결하기
MENDATORY EASY 1 MIN

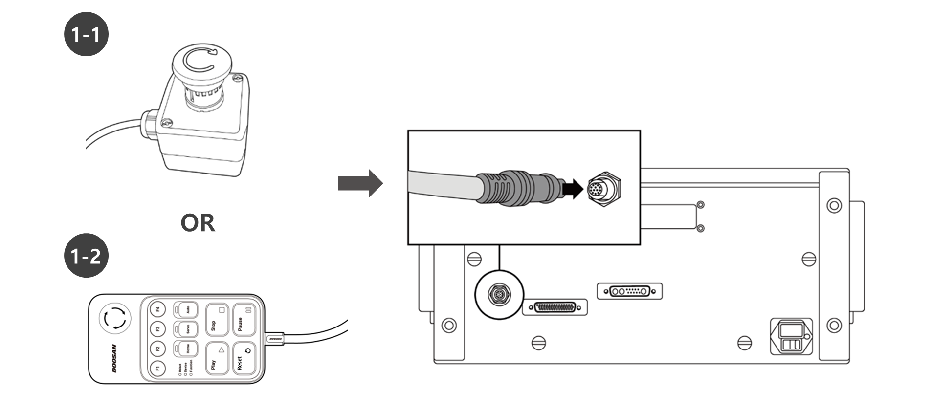
A시리즈의 경우 비상 정지버튼 케이블 또는 스마트 펜던트(옵션) 케이블을 연결합니다. 티치펜던트(옵션)와 로봇의 케이블을 컨트롤러에 연결합니다.
- 비상 정지버튼 케이블 또는 스마트 펜던트(옵션) 케이블을 컨트롤러의 해당 연결부에 연결 후 시계방향으로 스크류 락을 채워 케이블이 빠지지 않도록 하십시오.
- 티치펜던트(옵션) 케이블을 컨트롤러의 해당 연결부에 딸깍 소리가 날 때까지 연결하여 케이블이 빠지지 않도록 하십시오.
- 로봇 케이블의 반대편 끝을 컨트롤러의 해당 연결부에 딸깍 소리가 날 때까지 연결하여 케이블이 빠지지 않도록 하십시오.



주의
- 케이블을 연결할 때, 핀 부분이 휘지 않도록 연결부 모양을 잘 확인한 후 연결하십시오.
- 전자파 노이즈의 영향을 받거나 다른 기기에 영향을 줄 경우 정상적인 사용을 위해 페라이트코어를 설치하여야 합니다. 페라이트코어 설치 위치에 대한 자세한 내용은 다음을 참고하십시오.