Skip to main content
Skip table of contents

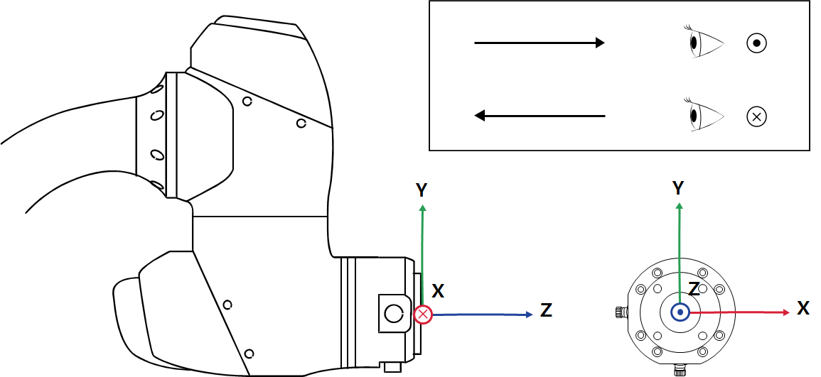
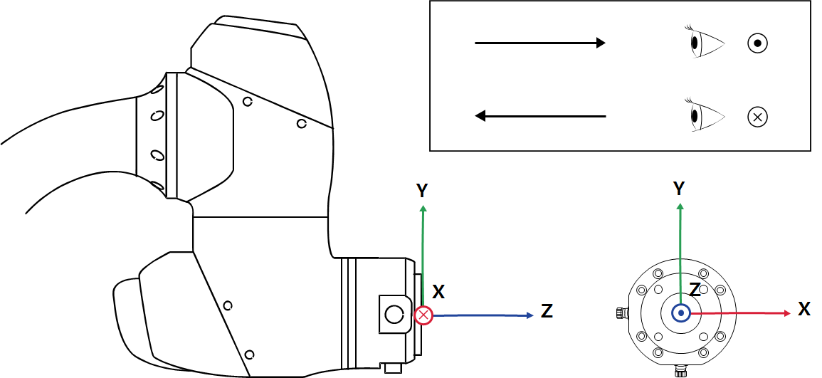
ツールの中心位置

JavaScript errors detected

Please note, these errors can depend on your browser setup.

If this problem persists, please contact our support.