ケーブルをコントローラに接続します
必須 簡単 1 分

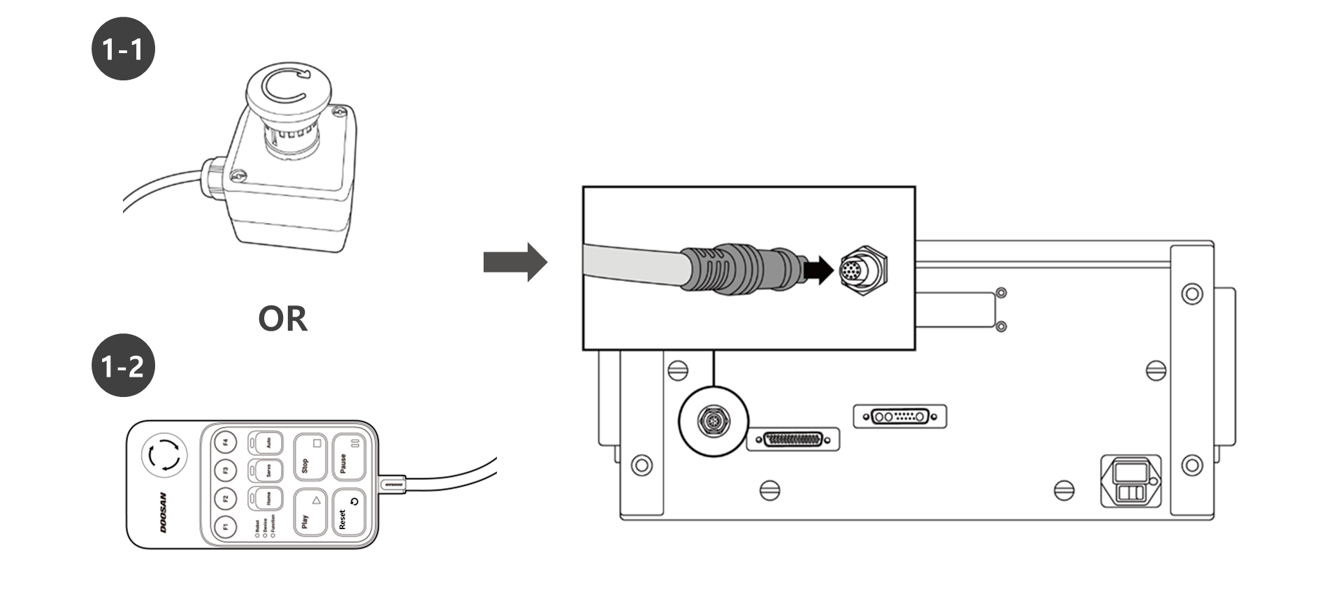
A シリーズの場合は、緊急停止ボタンケーブルまたはスマートペンダント(オプション)を接続します。ティーチペンダント(オプション)とロボットケーブルをコントローラに接続します。
- 緊急停止ボタンケーブルまたはスマートペンダント(オプション)ケーブルを対応するコントローラコネクタに接続し、ケーブルが緩んでいないように時計回りに回してネジロックを取り付けます。
- ティーチペンダント(オプション)ケーブルを、カチッという音がするまで対応するコントローラコネクタに押し込みます。これにより、ケーブルが緩んでしまうのを防止できます。
- ロボットケーブルの反対側の端を対応するコントローラコネクタに押し込み、カチッという音がしてケーブルがゆるんでしまうのを防ぎます。



注意
- ケーブルを接続する前に、ケーブル端のピンが損傷したり曲がったりしていないことを確認してください。
- 電磁波によって発生するノイズが問題を引き起こす場合は、フェライトコアを取り付けて正常な動作を確保する必要があります。フェライトコアの取り付け位置について詳しくは、以下を参照してください。