ロボット仕様
ロボット操作スペース
M0609
![]() | ![]() |
M0617
![]() | ![]() |
M1013
![]() | ![]() |
M1509
![]() | ![]() |
H2017
![]() |
H2515
![]() |
最大 動作スペース内のペイロード
運転空間内のロボットの最大ペイロードは、重心からの距離によって変化します。距離あたりのペイロードは次のとおりです。
注記
この荷重図では、工具の荷重量が小さいことを前提としています。体積が大きい工具は、重量が同じで体積が小さい工具と比較して、重心より上のペイロードの制限が大きくなり、振動が発生する可能性があります。
M0609![]() | M0609![]() |
M1013![]() | M1509![]() |
H2017![]() | H2515![]() |
許容されるモーメントと慣性
ロボットのJ4-J6で許容されるモーメントと慣性は次のとおりです。
モデル名 | J4 | J5 | J6 | |||
|---|---|---|---|---|---|---|
許容されるモーメント | 慣性 | 許容されるモーメント | 慣性 | 許容されるモーメント | 慣性 | |
M0609 | 36 Nm | 1.6 kg㎡ | 36 Nm | 1.6 kg㎡ | 36 Nm | 1.6 kg㎡ |
M0617 | ||||||
M1013 | ||||||
M1509 | ||||||
H2017 | 145 Nm | 8.0 kg㎡ | 81 Nm | 4.5 kg㎡ | 36 Nm | 2.0 kg㎡ |
H2515 | ||||||
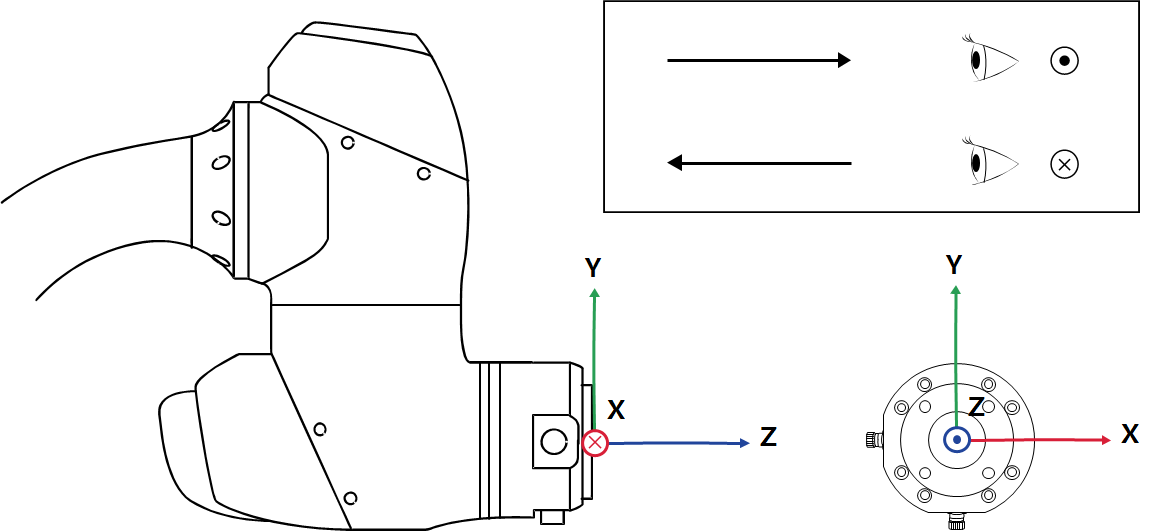
ツール中心点(TCP)
TCPについては、次の図を参照してください。

基本仕様
モデル名 | M0609 | M0617 | M1013 | M1509 | H2017 | H2515 | |
|---|---|---|---|---|---|---|---|
重さ | 27 kg | 34 kg | 33 kg | 32 kg | 79 kg | 77 kg | |
作業半径内のペイロード | 6 kg | 6 kg | 10 kg | 15 kg | 20 kg | 25 kg | |
最大 作業半径 | 900 mm | 1700 mm | 1300 mm | 900 mm | 1700 mm | 1500 mm | |
軸の数 | 6 | ||||||
最大 TCP速度 | 1m/s以上 | ||||||
位置の再現性(ISO 9283) | ±0.03 mm | ±0.1 mm | ±0.05 mm | ±0.03 mm | ±0.1 mm | ||
保護等級 | IP 54 | ||||||
ノイズ | 65 dB未満 | ||||||
インストール方向 | 任意の方向 | フロアのみ | |||||
コントローラーとティーチングペンダント | 斗山コントローラ&ティーチペンダント | ||||||
振動と加速度 | 10≤f ㎐ 57-0.075mm振幅 57≤f≤150㎐ –1G | ||||||
インパクト | 最大振幅:50㎨(5G)
| ||||||
動作温度 | 0~45 ℃ ℃ (273K~318K) | ||||||
保管温度 | -5~50 ℃ ℃ (268K~323K) | ||||||
湿度 | 20%~80% | ||||||
軸の仕様
モデル名 | M0609 | M0617 | M1013 | M1509 | H2017 | H2515 |
|---|---|---|---|---|---|---|
動作角度 | ||||||
J1 | ±360° (TP:±360°) | ±360° (TP:±360°) | ±360° (TP:±360°) | ±360° (TP:±360°) | ±360° (TP:±360°) | ±360° (TP:±360°) |
J2 | ±360° (TP:±95°) | ±360° (TP:±95°) | ±360° (TP:±95°) | ±360° (TP:±95°) | ±125° (TP:±95°) | ±125° (TP:±95°) |
J3 | ±150° (TP:±125°) | ±165° (TP:±145°) | ±160° (TP:±135°) | ±150° (TP:±125°) | ±160° (TP:±135°) | ±160° (TP:±135°) |
J4 | ±360° (TP:±360°) | ±360° (TP:±360°) | ±360° (TP:±360°) | ±360° (TP:±360°) | ±360° (TP:±360°) | ±360° (TP:±360°) |
J5 | ±360° (TP:±135°) | ±360° (TP:±135°) | ±360° (TP:±135°) | ±360° (TP:±135°) | ±360° (TP:±135°) | ±360° (TP:±135°) |
J6 | ±360° (TP:±360°) | ±360° (TP:±360°) | ±360° (TP:±360°) | ±360° (TP:±360°) | ±360° (TP:±360°) | ±360° (TP:±360°) |
最大 軸あたりの速度(定格ペイロード動作) | ||||||
J1 | 150 °/秒 | 100 °/秒 | 120 °/秒 | 150 °/秒 | 100 °/秒 | 100 °/秒 |
J2 | 150 °/秒 | 100 °/秒 | 120 °/秒 | 150 °/秒 | 80 °/秒 | 80 °/秒 |
J3 | 180 °/秒 | 150 °/秒 | 180 °/秒 | 180 °/秒 | 100 °/秒 | 100 °/秒 |
J4 | 225 °/秒 | 225 °/秒 | 225 °/秒 | 225 °/秒 | 180 °/秒 | 180 °/秒 |
J5 | 225 °/秒 | 225 °/秒 | 225 °/秒 | 225 °/秒 | 180 °/秒 | 180 °/秒 |
J6 | 225 °/秒 | 225 °/秒 | 225 °/秒 | 225 °/秒 | 180 °/秒 | 180 °/秒 |















