Csatlakoztassa a kábelt a vezérlőhöz
KÖTELEZŐ EGYSZERŰ 1 PERC

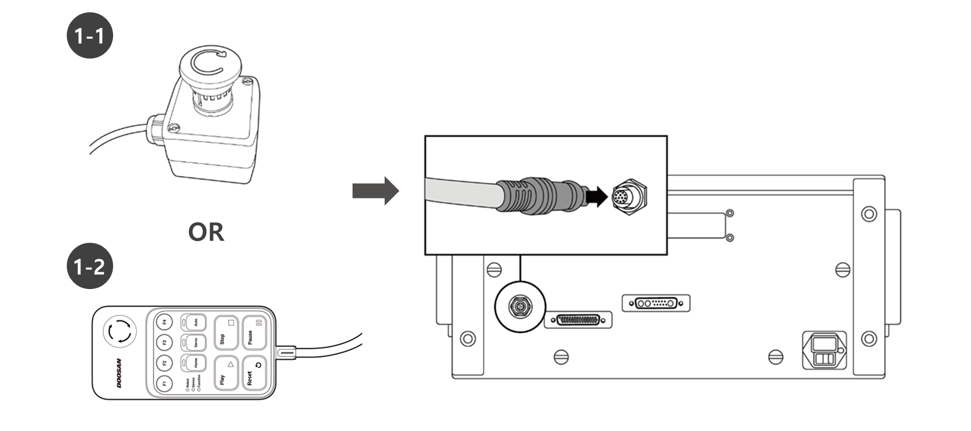
Az A sorozat esetében csatlakoztassa a vészleállító gomb kábelét vagy az intelligens függesztőt (opcionális). Csatlakoztassa a teach függőlámpát (opcionális) és a robotkábelt a vezérlőhöz.
- Csatlakoztassa a vészleállító gomb kábelét vagy az intelligens függesztőkábelt (opcionális) a megfelelő vezérlő csatlakozóhoz, és a kábel meglazulásának megakadályozása érdekében az óramutató járásával megegyező irányba forgatva rögzítse a csavarzárat.
- Nyomja be a betanító medál (opcionális) kábelét a megfelelő vezérlő csatlakozóba, amíg kattanást nem hall. Ez megakadályozza a kábel meglazulását.
- Nyomja be a robotkábel másik végét a megfelelő vezérlő csatlakozóba, amíg kattanást nem hall, nehogy a kábel meglazuljon.



Vigyázat
- A kábel csatlakoztatása előtt győződjön meg arról, hogy a kábel végén lévő érintkezők nem sérültek vagy hajlottak.
- Ha az elektromágneses hullámok által keltett zaj problémákat okoz, a normál működés biztosítása érdekében ferritmagot kell telepíteni. A ferritmag telepítésének helyével kapcsolatos további információkért tekintse meg a következőket: