Robot műszaki adatai
Robot működési terület
M0609
![]() | ![]() |
M0617
![]() | ![]() |
M1013
![]() | ![]() |
M1509
![]() | ![]() |
H2017
![]() |
H2515
![]() |
Max. Hasznos teher a működési területen belül
A robot maximális hasznos terhelése a munkaterületen belül a súlyponttól való távolságnak megfelelően változik. Az egy távolságra jutó hasznos teher a következő:
Megjegyzés
Ez a terhelési diagram egy kis szerszámterhelés térfogatát feltételezi. A nagyobb térfogatú szerszámoknak nagyobb a terhelhetőségük a szerszám súlypontja felett, mint az azonos súlyú, de kisebb térfogatú szerszámoknak, és ilyen esetekben rezgés fordulhat elő.
M0609![]() | M0609![]() |
M1013![]() | M1509![]() |
H2017![]() | H2515![]() |
Megengedett pillanat és tehetetlenség
A robot J4-J6 gépének megengedett sebessége és tehetetlensége a következő:
Modell neve | J4 | J5 | J6 | |||
|---|---|---|---|---|---|---|
Engedélyezett pillanat | Tehetetlenség | Engedélyezett pillanat | Tehetetlenség | Engedélyezett pillanat | Tehetetlenség | |
M0609 | 36 Nm | 1,6 kg㎡ | 36 Nm | 1,6 kg㎡ | 36 Nm | 1,6 kg㎡ |
M0617 | ||||||
M1013 | ||||||
M1509 | ||||||
H2017 | 145 Nm | 8,0 kg㎡ | 81 Nm | 4,5 kg㎡ | 36 Nm | 2,0 kg㎡ |
H2515 | ||||||
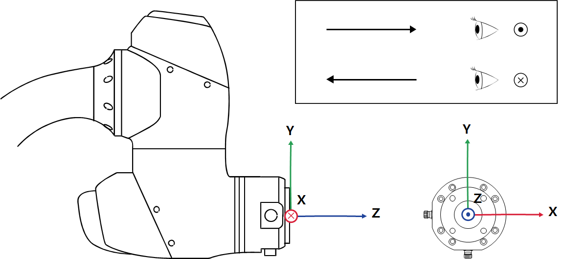
Eszközközpont (TCP)
A TCP-t lásd az alábbi ábrán.

Alapvető műszaki adatok
Modell neve | M0609 | M0617 | M1013 | M1509 | H2017 | H2515 | |
|---|---|---|---|---|---|---|---|
Súly | 27 kg | 34 kg | 33 kg | 32 kg | 79 kg | 77 kg | |
Hasznos teher a munkaterületen belül | 6 kg | 6 kg | 10 kg | 15 kg | 20 kg | 25 kg | |
Max. Munka sugara | 900 mm | 1700 mm | 1300 mm | 900 mm | 1700 mm | 1500 mm | |
Tengelyek száma | 6 | ||||||
Max. TCP sebesség | 1 m/s felett | ||||||
Pozíció ismételhetősége (ISO 9283) | ±0,03 mm | ±0,1 mm | ±0,05 mm | ±0,03 mm | ±0,1 mm | ||
Védelmi besorolás | IP 54 | ||||||
Zaj | < 65 dB | ||||||
Telepítési irány | Bármilyen orientáció | Csak a padlón | |||||
Irányító és tanári medál | Doosan Controller & Teach Pendant | ||||||
Rezgés és gyorsulás | 10≤f㎐ - 0,075 mm amplitúdó 57≤f≤150㎐ – 1G | ||||||
Hatás | Maximális amplitúdó: 50㎨(5G)
| ||||||
Üzemi hőmérséklet | 0 ℃ ~45 ℃ (273K – 318K) | ||||||
Tárolási hőmérséklet | -5 ℃ ~50 ℃ (268K – 323K) | ||||||
Páratartalom | 20% ~ 80% | ||||||
Axis Specifikációk
Modell neve | M0609 | M0617 | M1013 | M1509 | H2017 | H2515 |
|---|---|---|---|---|---|---|
Működési szög | ||||||
J1 | ±360° (TP:±360°) | ±360° (TP:±360°) | ±360° (TP:±360°) | ±360° (TP:±360°) | ±360° (TP:±360°) | ±360° (TP:±360°) |
J2 | ±360° (TP:±95°) | ±360° (TP:±95°) | ±360° (TP:±95°) | ±360° (TP:±95°) | ±125° (TP:±95°) | ±125° (TP:±95°) |
J3 | ±150° (TP:±125°) | ±165° (TP:±145°) | ±160° (TP:±135°) | ±150° (TP:±125°) | ±160° (TP:±135°) | ±160° (TP:±135°) |
J4 | ±360° (TP:±360°) | ±360° (TP:±360°) | ±360° (TP:±360°) | ±360° (TP:±360°) | ±360° (TP:±360°) | ±360° (TP:±360°) |
J5 | ±360° (TP:±135°) | ±360° (TP:±135°) | ±360° (TP:±135°) | ±360° (TP:±135°) | ±360° (TP:±135°) | ±360° (TP:±135°) |
J6 | ±360° (TP:±360°) | ±360° (TP:±360°) | ±360° (TP:±360°) | ±360° (TP:±360°) | ±360° (TP:±360°) | ±360° (TP:±360°) |
Max. Sebesség tengelyenként (névleges hasznos teher művelet) | ||||||
J1 | 150 °/s | 100 °/s | 120 °/s | 150 °/s | 100 °/s | 100 °/s |
J2 | 150 °/s | 100 °/s | 120 °/s | 150 °/s | 80 °/s | 80 °/s |
J3 | 180 °/s | 150 °/s | 180 °/s | 180 °/s | 100 °/s | 100 °/s |
J4 | 225 °/s | 225 °/s | 225 °/s | 225 °/s | 180 °/s | 180 °/s |
J5 | 225 °/s | 225 °/s | 225 °/s | 225 °/s | 180 °/s | 180 °/s |
J6 | 225 °/s | 225 °/s | 225 °/s | 225 °/s | 180 °/s | 180 °/s |















