Skip to main content
Skip table of contents

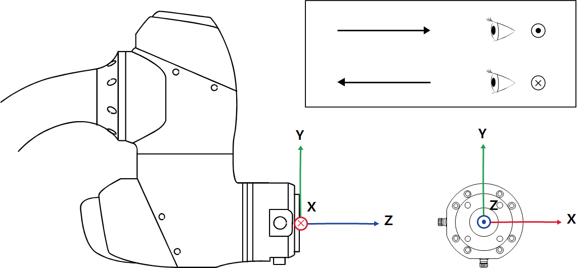
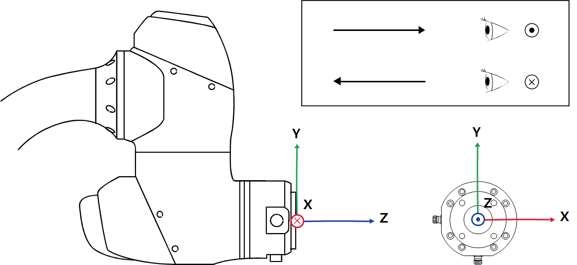
Tool Center Point (TCP)

Refer to the figure below for TCP.

JavaScript errors detected

Please note, these errors can depend on your browser setup.

If this problem persists, please contact our support.