Robot Specifications
Robot operating space
M0609
![]() | ![]() |
M0617
![]() | ![]() |
M1013
![]() | ![]() |
M1509
![]() | ![]() |
H2017
![]() |
H2515
![]() |
Max. Payload within operating space
The maximum payload of the robot within its operating space changes according to the distance from the center of gravity. Payload per distance is as follows:
Note
This load diagram assumes a small tool load volume. Tools with a larger volume will have greater limitations in payload above the tool’s center of gravity compared to a tool with an equal weight but smaller volume, and in such cases, vibration may occur.
M0609![]() | M0609![]() |
M1013![]() | M1509![]() |
H2017![]() | H2515![]() |
Allowed Moment and Inertia
The allowed moment and inertia of the robot's J4-J6 are as follows:
Model Name | J4 | J5 | J6 | |||
|---|---|---|---|---|---|---|
Allowed Moment | Inertia | Allowed Moment | Inertia | Allowed Moment | Inertia | |
M0609 | 36 Nm | 1.6 kg㎡ | 36 Nm | 1.6 kg㎡ | 36 Nm | 1.6 kg㎡ |
M0617 | ||||||
M1013 | ||||||
M1509 | ||||||
H2017 | 145 Nm | 8.0 kg㎡ | 81 Nm | 4.5 kg㎡ | 36 Nm | 2.0 kg㎡ |
H2515 | ||||||
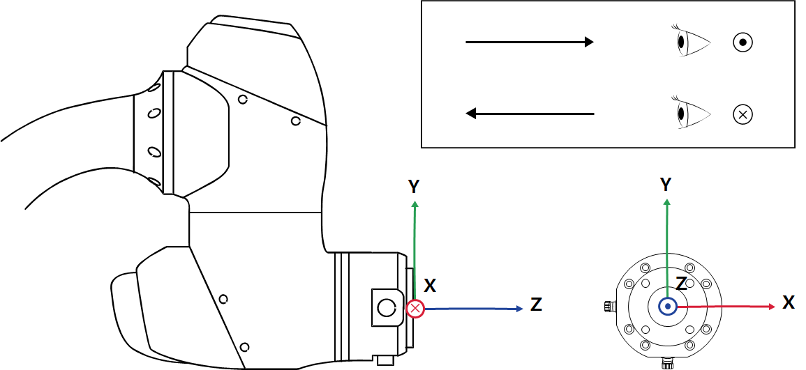
Tool Center Point (TCP)
Refer to the figure below for TCP.

Basic specifications
Model Name | M0609 | M0617 | M1013 | M1509 | H2017 | H2515 | |
|---|---|---|---|---|---|---|---|
Weight | 27 kg | 34 kg | 33 kg | 32 kg | 79 kg | 77 kg | |
Payload within Work Radius | 6 kg | 6 kg | 10 kg | 15 kg | 20 kg | 25 kg | |
Max. Work Radius | 900 mm | 1700 mm | 1300 mm | 900 mm | 1700 mm | 1500 mm | |
Number of Axes | 6 | ||||||
Max. TCP Speed | Over 1 m/s | ||||||
Position Repeatability (ISO 9283) | ±0.03 mm | ±0.1 mm | ±0.05 mm | ±0.03 mm | ±0.1 mm | ||
Protection Rating | IP 54 | ||||||
Noise | < 65 dB | ||||||
Installation Direction | Any Orientation | Floor Only | |||||
Controller and Teaching Pendant | Doosan Controller & Teach Pendant | ||||||
Vibration and Acceleration | 10≤f<57㎐ - 0.075mm amplitude 57≤f≤150㎐ – 1G | ||||||
Impact | Max Amplitude : 50㎨(5G)
| ||||||
Operating Temperature | 0 ℃ ~45 ℃ (273K to 318K) | ||||||
Storage Temperature | -5 ℃ ~50 ℃ (268K to 323K) | ||||||
Humidity | 20% ~ 80% | ||||||
Axis Specifications
Model Name | M0609 | M0617 | M1013 | M1509 | H2017 | H2515 |
|---|---|---|---|---|---|---|
Operating Angle | ||||||
J1 | ±360° (TP:±360°) | ±360° (TP:±360°) | ±360° (TP:±360°) | ±360° (TP:±360°) | ±360° (TP:±360°) | ±360° (TP:±360°) |
J2 | ±360° (TP:±95°) | ±360° (TP:±95°) | ±360° (TP:±95°) | ±360° (TP:±95°) | ±125° (TP:±95°) | ±125° (TP:±95°) |
J3 | ±150° (TP:±125°) | ±165° (TP:±145°) | ±160° (TP:±135°) | ±150° (TP:±125°) | ±160° (TP:±135°) | ±160° (TP:±135°) |
J4 | ±360° (TP:±360°) | ±360° (TP:±360°) | ±360° (TP:±360°) | ±360° (TP:±360°) | ±360° (TP:±360°) | ±360° (TP:±360°) |
J5 | ±360° (TP:±135°) | ±360° (TP:±135°) | ±360° (TP:±135°) | ±360° (TP:±135°) | ±360° (TP:±135°) | ±360° (TP:±135°) |
J6 | ±360° (TP:±360°) | ±360° (TP:±360°) | ±360° (TP:±360°) | ±360° (TP:±360°) | ±360° (TP:±360°) | ±360° (TP:±360°) |
Max. Speed per Axis (rated payload operation) | ||||||
J1 | 150 °/s | 100 °/s | 120 °/s | 150 °/s | 100 °/s | 100 °/s |
J2 | 150 °/s | 100 °/s | 120 °/s | 150 °/s | 80 °/s | 80 °/s |
J3 | 180 °/s | 150 °/s | 180 °/s | 180 °/s | 100 °/s | 100 °/s |
J4 | 225 °/s | 225 °/s | 225 °/s | 225 °/s | 180 °/s | 180 °/s |
J5 | 225 °/s | 225 °/s | 225 °/s | 225 °/s | 180 °/s | 180 °/s |
J6 | 225 °/s | 225 °/s | 225 °/s | 225 °/s | 180 °/s | 180 °/s |















