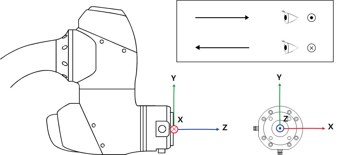
Refer to the figure below for TCP.
Please note, these errors can depend on your browser setup.
If this problem persists, please contact our support.