Schließen Sie das Kabel an den Controller an
OBLIGATORISCH EINFACH 1 MIN

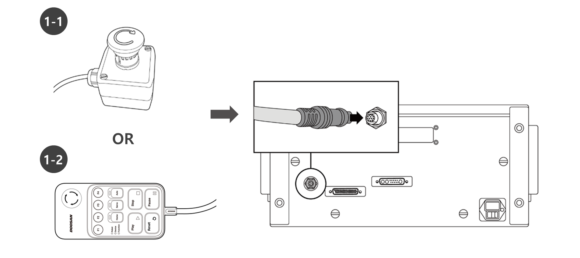
Bei Geräten Der A-Serie schließen Sie das Kabel der Not-aus-Taste oder die intelligente Handstation (optional) an. Schließen Sie die Kabel der Teach-Handstation (optional) und des Roboters an die Steuerung an.
- Schließen Sie das Kabel des Not-aus-Schalters oder das Kabel der Smart Handstation (optional) an den entsprechenden Controller-Anschluss an, und schließen Sie die Schraubverriegelung an, indem Sie sie im Uhrzeigersinn drehen, um zu verhindern, dass sich das Kabel löst.
- Schieben Sie das Kabel der Teach-Handstation (optional) in den entsprechenden Controller-Anschluss, bis ein Klicken zu hören ist. Dadurch wird verhindert, dass sich das Kabel löst.
- Schieben Sie das gegenüberliegende Ende des Roboterkabels in den entsprechenden Controller-Anschluss, bis ein Klicken hörbar ist, um zu verhindern, dass sich das Kabel löst.



Vorsicht
- Vergewissern Sie sich vor dem Anschließen des Kabels, dass die Stifte am Kabelende nicht beschädigt oder verbogen sind.
- Wenn die durch elektromagnetische Wellen erzeugten Geräusche Probleme verursachen, muss ein Ferritkern installiert werden, um einen normalen Betrieb zu gewährleisten. Weitere Informationen zum Montageort des Ferritkerns finden Sie in den folgenden Links: