Připojte kabel k řídicí jednotce
POVINNÉ SNADNÉ 1 MIN

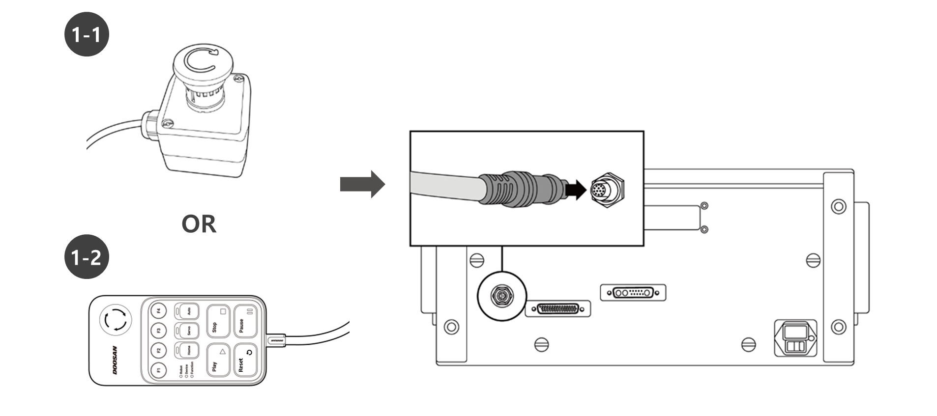
V případě řady A připojte kabel tlačítka nouzového zastavení nebo inteligentní závěsné zařízení (volitelné). Připojte závěsné zařízení Teach (volitelné) a kabely robota k řídicí jednotce.
- Připojte kabel tlačítka nouzového zastavení nebo kabel inteligentního závěsného zařízení (volitelný) k příslušnému konektoru řídicí jednotky a zajistěte šroub otočením ve směru hodinových ručiček, aby se kabel neuvolnil.
- Zatlačte kabel jednotky učení (volitelný) do odpovídajícího konektoru řídicí jednotky, dokud neuslyšíte cvaknutí. Tím zabráníte uvolnění kabelu.
- Zatlačte opačný konec kabelu robota do odpovídajícího konektoru řídicí jednotky, dokud neuslyšíte cvaknutí, aby nedošlo k uvolnění kabelu.



Pozor
- Před připojením kabelu zkontrolujte, zda nejsou kolíky na konci kabelu poškozené nebo ohnuté.
- Pokud hluk generovaný elektromagnetickými vlnami způsobuje problémy, je nutné nainstalovat feritové jádro, aby byl zajištěn normální provoz. Další informace o umístění instalace feritového jádra naleznete v následujících informacích: